Mala-Direta Oficina Brasil - Fevereiro 2024

Page 1

CONSULTOR OB

ANO XXIV NÚMERO 395

FEVEREIRO 2024

DO FUSCA AO TESLA

AVALIAÇÃO DO REPARADOR

PÁG. 28

O multímetro é ferramenta essencial dentro da oficina, aprenda detalhes

PÁG. 52 PÁG. 22

TURBOS

Veja o funcionamento do Intercooler, item crucial do sistema de sobrealimentação

PÁG. 26

Nosso consultor ensina os detalhes do sistema VVT que ainda gera muitas dúvidas no momento do diagnóstico. PÁG. 42 sobre esse equipamento

DIRETOR GERAL

André Simões

GERENTE COMERCIAL

Carlos Souza

GERENTE DE NOVOS NEGÓCIOS

Átila Paulino

GERENTE DE REDAÇÃO

Wellyson Reis

GERENTE DE PERFORMANCE

Shelli Braz

GERENTE DE TI

Tiago Lins

PUBLICIDADE

Julianna Miras – Execultiva de Contas

QUALIFICAÇÃO DE ASSINANTES

Talita Assis - Auxiliar de Atendimento

DESIGNER Daniel Victor

PRÉ-IMPRESSÃO E IMPRESSÃO Margraf Editora e Indústria Gráfica Ltda.

FALE CONOSCO

ATENDIMENTO AO LEITOR

Talita Caroline Assis leitor@oficinabrasil.com.br

De 2° a 6°, das 8h30 às 18h

Tel. (11) 2764-2881

PUBLICIDADE anuncie@oficinabrasil.com.br

ON-LINE wellyson.reis@oficinabrasil.com.br

RH rh@oficinabrasil.com.br

FINANCEIRO financeiro@oficinabrasil.com.br

CINAU cinau@oficinabrasil.com.br

CARTAS

Rua: Alameda Santos, 1800 - 5° Andar São Paulo - SP, CEP: 01418-102

FEVEREIRO COMEÇOU QUENTE E FERVENDO EM DESAFIOS

Até o fechamento desta edição, tivemos o feriado de Carnaval que agitou todo país. Foram diversas atrações para todos os gostos e estilos.

A cidade de São Paulo, ganhou mais uma marca tendo como número recorde de blocos confirmados, com cerca de 536 desfiles e mais de 15 milhões de foliões, “Macetando” da Ivete Sangalo foi considerado o hit do Carnaval e viralizou nas redes as previsões da Baby do Brasil sobre o Apocalipse.

O Carnaval deste ano realmente “pegou fogo”, mas o que ferveu mesmo foram as oficinas mecânicas. Portanto, deixemos o Carnaval de lado e vamos ao que interessa.

Na página 06 apresentamos a segunda matéria de mercado de 2024. Em 2023 a média de carros atendidos mensalmente por uma oficina era de 108 veículos, o que passou para 123 carros agora em 2024.

O que vimos ao longo destes 30 anos de existência do OFICINA BRASIL foram diversas evoluções na Aftermarket e agora estamos prontos para enxergar um novo salto, o da PRODUTIVIDADE.

Isso coloca a oficina mecânica em outro patamar de atendimento, pois a palavra produtividade nunca foi tão difundida e buscada entre os profissionais da reparação. É praticamente um consenso entre os proprietários de oficina, que falta mão de obra qualificada no nosso setor e a busca é praticamente constante. Ou seja, não basta ter o melhor espaço, as melhores ferramentas, os melhores softwares, os melhores equipamentos sem que o profissional este apto para se utilizar de todos os recursos que a oficina provém.

Oficina Brasil é uma publicação (mala direta) do Grupo Oficina Brasil (ISSN 2359-3458). Trata-se de uma mídia impressa baseada em um projeto de marketing direto para comunicação dirigida ao segmento profissional de reparação de veículos. Circulando no mercado brasileiro há 35 anos, atinge de forma comprovada 71% das oficinas do Brasil. Esclarecemos e informamos aos nossos leitores, e a quem possa interessar, que todos os conteúdos escritos por colaboradores publicados em nossa mala direta são de inteira e total responsabilidade dos autores que os assinam. O Grupo Oficina Brasil verifica preventivamente e veta a publicação de conteúdo, somente no que diz respeito à adequação e ao propósito a que se destina, e quanto a questionamentos e ataques pessoais, sobre a moralidade e aos bons costumes.

As opiniões, informações técnicas e gerais publicadas em matérias ou artigos assinados não representam a opinião deste veículo, podendo até ser contrárias a ela.

Nós apoiamos:

Filiado a:

Em meados dos anos 90, estima-se que havia mais de 200 mil oficinas no país, mas não se existia uma base que registrasse este número real, nem sua localização e muito menos o porte (quantidade de carros atendidos). Hoje de acordo com último senso do setor, nosso país possui cerca de 74.180 oficinas, das quais são responsáveis pela reparação de mais de 90% da frota nacional e gastam anualmente somente em peças técnicas e lubrificantes R$53BI.

Isso significa que a primeira evolução aconteceu tanto na parte técnica quanto na gestão e estamos diante de uma nova evolução o de produtividade e novamente uma evolução técnica referente a eletrificação dos carros, tema do nosso próximo editorial. Aguarde!

Retornando ao título deste editorial, fevereiro começou quente, por conta do Carnaval, e as oficinas fervendo em desafios.

BOA LEITURA! GRUPO OFICINA BRASIL

DADOS DESTA EDIÇÃO

• Tiragem: 55.000 exemplares;

• Distribuição nos correios: 54.400 (até o fechamento desta edição)

• Percentual aproximado de circulação auditada (IVC): 98,9%

COMPROMISSO COM O ANUNCIANTE - GARANTIAS EXCLUSIVAS NO MERCADO DE MÍDIA IMPRESSA

Oficina Brasil oferece garantias exclusivas para a total segurança dos investimentos dos anunciantes. Confira abaixo nossos diferenciais:

1º. Nossa base de assinantes é totalmente qualificada por um sistema de “permission marketing” que exige do leitor o preenchimento de cadastro completo e que prove sua atuação no segmento de reparação;

2º. Atingimos, comprovadamente, 53 mil oficinas, o que equivale a 71% dos estabelecimentos da categoria no Brasil;

3º. Possuímos Auditoria permanente do IVC (Instituto Verificador de Comunicação), garantindo que a mala direta está chegando às mãos do assinante qualificado;

4º. Registro no Mídia Dados 2020 como o “maior veículo do segmento do País”;

5º. Único veiculo segmentado que divulga anualmente o CUSTO DE DISTRIBUIÇÃO. Este número é auditado pela BDO Brasil e em 2021 o investimento em Correio foi de R$ 1.373.346,51 (hum milhão, trezentos e setenta e três mil, e ciquenta e um centavos), para garantir a entrega anual em nossa base qualificada de oficinas;

6º. Estimulamos nossos anunciantes à veiculação de material do tipo “Call to Action” para mensuração do retorno (ROI);

7º. Certificado de Garantia do Anunciante, que assegura o cancelamento de uma programação de anúncios, a qualquer tempo e sem multa, caso o retorno do trabalho (ROI) fique aquém das expectativas do investidor.

Fevereiro 2024 • oficinabrasil.com.br
EDITORIAL 2
www.oficinabrasil.com.br

MERCADO

Acompanhe mais um boletim exclusivo do Pulso do Aftermarket

ENTREVISTA

Sergio Montagnoli, Diretor de Vendas e Marketing do grupo Frasle Mobility

AVALIAÇÃO DO REPARADOR

Fiat Strada na avaliação do reparador para conhecer seus novos atributos

FUNDO DO BAÚ

Relembre o NSU Spider Wankel, primeiro veículo a utilizar o famoso motor Wankel

DO FUSCA AO TESLA

Conhecer o multímetro permite diagnosticar problemas e realizar testes

GESTÃO

Veja como mudar a percepção do Cliente ao chegar na oficina

TURBOS

Conheça o funcionamento do intercooler no sistema de sobrealimentação do motor

REPARADOR DIESEL

Nosso especialista fala sobre o diagnóstico no sensor de pressão do DPF

CONSULTOR OB

Na matéria deste mês vamos apresentar o sistema de comando variável

OFICINA É UM BOM NEGÓCIO

Especialistas mostram como acompanhar o percentual entre peças e serviços

TÉCNICA

Veja como funciona uma ferramenta muito simples, o teste de bateria

DIRETO DO FÓRUM

Confira os casos de maior destaque do Fórum Oficina Brasil

REPARADOR DIESEL

Nosso especialista nos mostra função, funcionamento, testes e dicas de diagnóstico do sensor de pressão do DPF 28

ENTREVISTA

Conversamos com o Diretor de Vendas e Marketing da Fras-le, no qual comemora as sete décadas trajetória repleta de conquistas e apoio dos reparadores!

CONSULTOR OB

Nosso consultor irá nos mostrar como é o comportamento das pressões e vazões de ar no motor alterando o ângulo do comando de válvulas em diversas condições

TÉCNICA

Continue explorando as manutenções em unidades de bombeamento dos sistemas de pós-tratamento SCR. Confira essa matérias exclusiva!

18
4 Fevereiro 2024 • oficinabrasil.com.br 6 10 12
ÍNDICE
Pág. 42
52 08 36 24 28 26 :: Números CAL (Central de Atendimento ao Leitor) CONTATO Cartas 0 E-Mails ....................................................................... 5 Telefonemas 2 Site 35 WhatsApp................................................................. 8 Total 50 SOLICITAÇÕES Assinaturas 21 Alterações de Cadastro .................................... 14 Outras 114 Total ....................................................... 149 Dados referentes ao período do mês de Janeiro/2024 34 47 54 22 40

MERCADO

6

JANEIRO COMEÇOU MOVIMENTADO !

Átila Paulino

Iniciamos o segundo relatório PULSO DO AFTERMARKET de 2024 consolidando o movimento das oficinas no mês de janeiro de 2024, e para os mais “antigos” de Aftermarket, sabem que este indicador, quantidade de carros atendidos por mês, é o famoso número “PI da reparação”.

Há mais de 30 anos acompanhamos este indicador básico do Aftermarket e uma verdade podemos dizer: ele sempre foi o nosso número “PI”. Momento história: O número PI é uma proporção numérica infinita, ou seja, uma sequência numérica que não tem fim. Por conta disso, o PI é classificado como um número irracional. Porém, o nosso número “PI” da reparação” é muito lógico e racional, vejamos:

Historicamente quando as oficinas estão superlotadas, como estão agora, os indicadores de atendimento/ mês estão altos (época de vacas gordas), assim colocamos na mesa assuntos como capacidade produtiva. Agora, quando ocorre uma saturação da capacidade produtiva das oficinas, observamos um movimento migratório e o surgimento de novas oficinas, consequentemente fazendo com que os indicadores de aten-

dimento das oficinas diminuam (vacas magras). É nesta fase que as oficinas mais estruturadas em matéria de gestão sobrevivem, porém muitas deixam de existir, fazendo com que os indicadores de atendimento/mês retornem a patamares altos novamente (vacas gordas) e assim segue o nosso Aftermarket e o nosso indicador de atendimento/mês das oficinas batizado de número “PI da reparação”.

Isso pode explicar o -1,08% registrado pelo PULSO DO AFTERMARKET em janeiro. Tudo bem que falam “o ano inicia após

o Carnaval” e para nos ajudar ele chegou bem cedo, ou seja, podemos sair da marcha lenta, tirar o pé do freio e acelerar.

Sem esta visão popular, analistas de mercado preveem 2024 como um ano de desaceleração da economia brasileira, crescendo menos que a média mundial elaborada pelo FMI (Fundo Monetário Internacional). Outro indicador que bate a nossa porta esteve no balanço da Anfavea, no qual janeiro teve o melhor resultado para o mês, desde 2021, com 162.000 veículos emplacados (todas as cate-

gorias) e um crescimento de 13,1%, comparado a janeiro de 2023. Isso remonta numa diminuição dos serviços de reparação do carro usado.

Agora é hora de analisar seus indicadores, estudar bem suas linhas de produtos, canais de abastecimento, posicionamento de marca e preço, pois pelo que tudo indica caso as oficinas não ultrapassem este novo “sarrafo” (123 carros atendidos por mês) a quantidade de oficinas no país pode crescer e a sua marca e produto precisam estar na mente e no coração destes que até então são reparadores, mas que

amanhã serão futuros empresários, donos de oficinas e decisores no momento da compra.

Caso a sua marca esteja passando por dificuldades, seja no posicionamento de lembrança, confiança, percepção de portfólio, cobertura da frota, preço, canal ou até mesmo para interpretar alguns indicadores os profissionais da CINAU estão totalmente à disposição para um bate-papo.

Não fique no escuro, pois as oficinas estão se preparando para saltar mais um ano.

28,58% -4,18% 3,68% -13,82% 6,14% -35,00% -25,00% -15,00% -5,00% 5,00% 01/01 a 06/01 08/01 a 13/01 15/01 a 20/01 22/01 a 27/01 29/01 a 03/02 MOVIMENTO REAL MÉDIA H STÓR CA-
Média de passagens: 123 carros por mês Fevereiro 2024 • oficinabrasil.com.br
Em 2023, alcançamos um crescimento significativo de 13,78% no movimento das oficinas, superando as previsões otimistas. Considerando o crescimento constante do mercado, estabelecemos a meta de atender 123 carros por mês por oficina neste ano!

70 Anos de Fras-le: Uma jornada de sucesso construída com o apoio ao reparador!

Sergio Montagnoli, Diretor de Vendas e Marketing do Grupo Frasle, nos conta sobre o ano de aniversário da marca, que será marcado por celebrações e diversas oportunidades para refletir a trajetória de sucesso e apoio ao reparador

1. Conte um pouco de sua trajetória profissional até os dias atuais?

Comecei minha trajetória há 40 anos na indústria automotiva, atuando sempre na reposição. Passei a fazer parte da Nakata em 2010 como Diretor de Vendas e Marketing, quando, em conjunto com uma equipe espetacular, consolidamos a marca entre as mais desejadas pelos reparadores no Brasil. Com a aquisição da Nakata pela Fras-le, assumi o marketing global, a diretoria de Vendas Aftermarket Brasil das marcas Nakata, Controil e Fremax e mais recentemente, também das marcas Fras-le, Lonaflex, Jurid e Ferodo.

É um novo momento pessoal e da empresa com novos desafios e muitas oportunidades, tanto no mercado nacional, quanto em nossa plataforma internacional, que vem sendo muito bem construída ao longo do tempo em países como: Estados Unidos, Índia, China, bem como na América Latina e Europa, onde no ano passado adquirimos a Juratek, uma empresa de muito sucesso focada no aftermarket no Reino Unido. Somos, portanto, uma multinacional genuinamente brasileira, com operações e vendas no mundo todo, tendo de compreender diferentes culturas e atender necessidades de cada mercado, seja no aftermarket, seja no equipamento original.

2. A Fras-le completa 70 anos em 2024, gostaria de saber como vocês enxergam essa

história e as expectativas para o futuro da empresa? Como você descreveria a visão estratégica da Fras-le para os próximos 5 anos?

Sem dúvida, uma história de sucesso que começou lá atrás em 1954 ainda na gestão do fundador Francisco Stedile, e nos primórdios da década de 70, a empresa abriu capital em bol-

sa de valores e criou seu Centro de Pesquisa e Desenvolvimento. Foram passos inovadores e importantes para que a empresa pudesse se destacar nos cenários nacional e internacional, expandindo as operações para países da América Latina, tornando a marca Fras-le altamente competitiva nos mais diferentes mercados. Na década de 90, a

Fras-le foi adquirida pela Randon, hoje Randoncorp, que mobiliza uma estratégia vencedora de diversificação de portfólio e mercados. Atualmente, já com a sua nova estrutura e sob um novo nome, após ter adquirido empresas como: Controil, Fremax e Nakata no Brasil, a Frasle Mobility se apresenta como um player global, operando em onze unidades fabris, incluindo cinco fora do território brasileiro, além de nove centros de distribuição e quatro escritórios comerciais ao redor do mundo.

3. Como a Fras-le planeja comemorar seu 70º aniversário? Há alguma campanha especial planejada?

É o ano de aniversário dos 70 anos da marca. Portanto, teremos várias celebrações com os nossos diversos públicos e comunidades ao longo dos próximos meses, contando a história de sucesso, valorizando as pessoas que contribuíram com ela e falando um pouco do nosso futuro. Afinal, esta marca fez, faz e fará história.

4. Quais são os principais objetivos de vendas e marketing da Fras-le para este ano?

Trabalhar cada vez mais próxima dos mecânicos ressaltando os atributos da marca como especialista em soluções em freio, que traduzimos no slogan: Pen-

sou freio, Fras-le. Ao mesmo tempo que entende as necessidade e dores dos profissionais do segmento leva soluções por meio de várias iniciativas, tais como: canais digitais, EADs, vídeos com dicas de manutenção, além de treinamentos presenciais e apoio a eventos voltados aos profissionais do mercado. Outro ponto é atuar na disponibilidade de produtos nos pontos de venda. Peça certa, na hora e lugar certos. E pelo preço certo. Ou seja, reconhecemos a importância de nos mantermos cada vez mais competitivos, pois acreditamos que temos espaço para crescer, seja no Brasil ou no exterior.

5. Como a empresa está se adaptando às tendências/ novidades no setor automotivo?

Procuramos antecipar as necessidades do mercado, sempre buscando inovar em soluções. Em 2023, na Automec, apresentamos a linha de pastilhas EHnergy exclusiva para veículos híbridos e elétricos para linha leve. Para veículos pesados, segmento que a Fras-le lidera no mercado de lonas, foram desenvolvidas novas formulações, como AF/730, que possui novos materiais que garantem muito mais durabilidade e eficiência em frenagem.

Entre as inovações, há a pastilha de freio Copper Free (livre de cobre), antecipando adequação a legislações do mercado internacional, como os Estados Unidos, um dos países em que a Fras-le mantém operações fabris.

6. Como a Fras-le enxerga o processo de eletrificação dos carros no Brasil?

Fevereiro 2024 • oficinabrasil.com.br ENTREVISTA
ENTREVISTA 8
Sergio Montagnoli

Motores elétricos terão sua evolução natural, 100% elétricos ou híbridos, podendo ganhar espaço na frota mais rápido ou lentamente devido à melhor solução no tempo de recarga e infraestrutura de postos de serviços. O fato que é que há uma maior duração nas pastilhas devido ao uso do freio regenerativo. Sob o ponto de vista de solução de produtos, estamos preparados para atender esse segmento com a linha de pastilhas de freio EHnergy, com melhor performance frenagem a frio e película anticorrosão. Por outro lado, o veículo elétrico é mais silencioso e ruídos do sistema de freio ou suspensão serão ainda mais perceptíveis, o que pode levar também ao aumento de manutenção. Desta forma, como Frasle Mobility, temos uma excelente equação de negócios para o futuro, com carros eletrificados ou não.

7. Quais são as principais oportunidades e desafios que você enxerga para a Fras-le no cenário atual do mercado aftermarket?

As oportunidades estão baseadas no aumento da frota circulante que cresce e movimenta o mercado. O envelhecimento da frota e maior quilometragem rodada também são fatores que impulsionam o aftermarket, em especial na linha de freios, pois são produtos de desgaste que precisam ser substituídos quando vence a sua vida útil a cada dois ou três anos.

Já os desafios estão relacionados a ter disponibilidade de itens de acordo com as necessidades de cada região e na hora certa, seja para desenvolvimento de lançamentos, seja sobre questões logísticas.

8. Como a Fras-le está incorporando inovação e tecnologia em seus produtos e estratégias de marketing?

A marca Fras-le sempre foi reconhecida pela inovação, aliás essa é uma característica presente desde a sua fundação e como maior fabricante de ma-

teriais de fricção da América Latina, a empresa desenvolve soluções para garantir eficiência na frenagem de automóveis, caminhões, ônibus, motos e outras aplicações, como trens e avião.

Para isso, possuímos um Centro de Pesquisa avançado aqui no Brasil, com laboratórios químico, físico e piloto, um dos mais bem equipados do mundo, que possibilita a geração de produtos com alta performance e um campo de provas, CTR, o

anticorrosão aplicada aos discos da Fremax, que garante muito mais durabilidade. Os produtos com esta tecnologia já estão sendo comercializados no Brasil, EUA e Europa. O fato é que hoje estamos habilitando tecnologias para nossa indústria e fora dela, no Brasil e no exterior. O slogan da marca Composs - It´s completely possible - traduz muito bem como temos trabalhado com nossos clientes, juntos pensando um universo de

nos obriga a sermos cada vez mais digitais, atuar integrados como um ecossistema on-line e em tempo real. Lançamos há alguns anos nosso catálogo digital Auto Expert, a princípio para a marca Fras-le, mas hoje já com todas as marcas da Frasle Mobility. Contudo, a jornada do cliente vai além de encontrar a peça certa. Outras dores, tais como: onde existe a peça disponível, qual o tempo de entrega, o custo e como posso melhor

maior da América Latina para veículos leves e comerciais, em parceria com a Randoncorp, que nos permite habilitar novos produtos e tecnologias em tempo muito curto. Não só nas diversas formulações, nos produtos de fricção, como também soluções em outros materiais, por exemplo, os materiais compostos de ligas que substituem aço e alumínio. É a nossa linha Composs, que já está presente em caminhões e carretas.

9. Há planos para desenvolver produtos ou serviços inovadores nos próximos anos?

Inovação é DNA da marca Fras-le, que balizou a proposta de valor da Frasle Mobility como empresa. A jornada em materiais compósitos, por meio da nossa marca Composs, está no início e permite soluções que vão além do segmento automotivo. Também investimos em uma empresa de nanotecnologia, a Nione, que desenvolveu uma pintura nano particulada

novas possibilidades.

10. Sabemos que a frota circulante cada ano tem aumentado cada vez mais, não só em relação ao volume, mas também em relação a sua variedade de marcas, modelos e versões. O que ilustra esta afirmação é que, em 1990 havia cerca de 90 modelos (nomes) de carros e atualmente há mais de 800. Pensando nesta pluralidade da frota circulante e a crescente curva da cauda longa, como a Fras-le lida com estes desafios e desenvolve seu portifólio?

Realmente, a quantidade de modelos de veículos e aplicações vem aumentando absurdamente, o que exige um trabalho de inteligência de mercado com área dedicada que analisa tendências com suporte de estudos como os que o Grupo Oficina Brasil desenvolve. Temos que pensar que não é mais possível fazer tudo como fazíamos antes e de forma isolada. A quantidade de dados e pontos de contato

financiar minha compra são objetos de soluções que pretendemos entregar. Vemos o Auto Expert como uma plataforma que integra vários parceiros de negócios e serviços, resultando em uma experiência mais completa e satisfatória para nossos clientes.

11. É sabido que a Fras-le, em parceria com Oficina Brasil, estão desenvolvendo ações que envolvem o FÓRUM OFICINA BRASIL. Esta plataforma abriga mais de 130 mil reparadores e 60 mil tópicos técnicos. Além desta iniciativa, qual outras ações a Fras-le entende como necessária para construir e manter relacionamentos sólidos com os decisores pela compra das peças – os reparadores automotivos?

A participação no FÓRUM OFICINA BRASIL será muito produtiva e enriquecedora sob o aspecto de poder mergulhar nesse universo tão vasto que retrata o dia a dia das oficinas,

onde as demandas surgem. Trará também muito aprendizado, além de podermos contribuir com informações e saber quais são as dúvidas e, então, entregar soluções. Este ano estaremos presentes no Programa Rota do Reparador com treinamentos presenciais em São Paulo, on-line para todo o Brasil, assim iremos levar capacitação e informação técnica. Estendemos o relacionamento com os mecânicos em nossos canais digitais, assim como suporte técnico, visita de técnicos, participação em eventos dedicados a este público. São iniciativas importantes e que ajudam a entender as necessidades e estar próximo de quem decide a peça que será aplicada no carro do consumidor final. Por isso, acreditamos que o conjunto de ações dá resultado. Para isso, contamos com a colaboração de todo o time porque é a força dos esforços de cada colaborador que torna possível entregar soluções completas e oferecer boas experiências com a marca.

12. Há uma percepção de que a Fras-le concentra seu foco no “último elo” da cadeia de reposição, ou seja, as oficinas mecânicas. Isso é considerado uma decisão estratégica que tende a ganhar mais relevância? Para Fras-le, o quão é importante o REPARADOR?

O nosso foco é justamente o reparador, pois é o gerador de demanda. Como dizem é ele que abre a caixinha do produto, aplica e avalia o desempenho. Portanto, tem um papel fundamental em toda a cadeia como quem movimenta e decide sobre as marcas no mercado. Daí o foco, com ações dedicadas exclusivamente para eles que trazem como resultado a marca Fras-le liderando por 10 edições consecutivas como a preferida em pastilha de freio na pesquisa Marcas da Oficina da Cinau, que faz parte do Grupo Oficina Brasil. Inclusive, a liderança absoluta acontece desde que a categoria foi criada. Nesta mes-

9 Fevereiro 2024 • oficinabrasil.com.br ENTREVISTA

ma pesquisa, as demais marcas e produtos da Frasle Mobility também figuram entre as mais lembradas e encontradas. Essa condição é gratificante e nos incentiva a continuar inovando para manter essa posição que tanto nos orgulha.

13. De acordo com o último boletim do PULSO DO AFTERMARKET, o mercado digital se mantém próximo a 6,5% do total de compra dos reparadores. Porém, entendemos que os desafios para este canal não são tão simples como alguns estudiosos preveem. Temos nosso país com dimensões continentais, por isso vencer a barreira logística (tempo de entrega) ainda é um grande gargalo para este tipo de canal, uma vez que a oficina prefere comprar no seu canal tradicional pela produtividade que o tempo de entrega reduzido traz. Outro desafio, que o canal digital enfrenta é em relação ao catálogo, pois a compra de peças erradas continua sendo fator de atraso de entrega dos veículos. Diante desta realidade, como a Fras-le projeta o canal digital para compra de peças por parte do reparador?

Hoje, os canais digitais de comunicação possuem muita força e geram impacto positivo para a marca. É possível estar presente no dia a dia dos agentes, com informações de interesse sobre produtos, mercado, bem como conteúdos a fim de aprimorar a capacitação. Quanto aos marketplaces, nossa visão é que são um canal de vendas, porém para uso da nossa rede de revendedores. Assim, entendendo como mais uma oportunidade para nossos clientes, oferecemos um ambiente virtual com nossas marcas em um dos marketplaces mais visitados, como um “guarda-chuva” para que nossos clientes façam a oferta, faturamento e entrega. Oferecemos também consultorias que os auxiliem a atuar com

sucesso na venda online, o que contribui para uma melhor experiência dos compradores de nossas marcas.

14. De acordo com o PULSO DO AFTERMARKET, em 2023, o movimento das oficinas cresceu 13,78%. Como ficaram os resultados da Fras-le neste ano?

Somos listados na bolsa de valores de São Paulo e nossos resultados de 2023 serão publicados oficialmente em breve. Contudo, o avanço da receita já publicado ao longo do ano indica que nossa porção aftermarket Brasil terá um ano de volumes positivos.

15. Quais são as principais estratégias de vendas que a Fras-le está adotando para aumentar a participação de mercado?

tiva que visa mobilizar a comunidade empresarial para o desenvolvimento sustentável. Contamos com programa de logística reversa Pró-Ambiente voltado para os produtos da linha pesada da marca Fras-le há anos, o mesmo na fábrica da Fremax, em Joinville, com recolhimento e reuso dos discos freios, retornando na condição de ferro fundido, que se transforma matéria-prima pura, sem perda de qualidade e, principalmente sem agredir o meio ambiente. Promovemos a compensação do impacto ambiental com encaminhamento de

Há muito sendo feito, mas de forma resumida, a marca Fras-le, mais do que ser reconhecida como líder no mercado nacional, é ser protagonista no cenário mundial. Isso gera escala e nos permite estar cada vez mais competitivos no Brasil e investir em mais ações que nos deixe ainda mais próximos dos aplicadores. Estratégia também para todas as marcas da Frasle Mobility, em especial: Nakata, Fremax e Controil, pois sabemos da importância que elas têm no cotidiano dos aplicadores e vamos entregar, não só disponibilidade de produtos de qualidade, como também soluções que auxiliem os mecânicos na execução do diagnóstico e serviços de reparação.

16. Como a Fras-le está abordando o tema ESG em suas operações?

Como parte da Randoncorp, a empresa aderiu, em 2021, ao Pacto Global da ONU, inicia-

O mercado de reposição está cada vez mais complexo. Para melhor servir os aplicadores e usuários de nossos produtos e marcas, acreditamos no desenvolvimento de um ecossistema colaborativo com várias empresas integradas. Seja nos aspectos comerciais, crédito e logística, onde já há uma rede de distribuidores e varejos muito bem instalada, eficaz e muito próxima das nossas marcas, seja com apoio de empresas de dados, inteligência de negócio e plataformas digitais para transmissão, troca de conteúdo e transações que tragam agilidade, economia e melhores respostas a fim de gerar maior satisfação nas experiências dos diversos agentes no aftermarket.

resíduos e controle de efluentes na operação de Caxias do Sul, com o compromisso público em reduzir em 40% a emissão de gases de efeito estufa até 2030, zerar a disposição de resíduos em aterro industrial e reutilização de 100% dos efluentes tratados até 2025. Nosso propósito é manter a vida em movimento de forma segura e sustentável. Portanto, temos inovações em várias frentes para uma economia circular e de menor emissão de carbono no desenvolvimento de produtos a exemplo dos materiais compósitos, tão resistentes e mais leves que o aço, no uso de energias renováveis como gás natural nas operações industriais e na utilização de usinas fotovoltaicas, tal qual a que abastece 20% da nossa fábrica em Pinghu/China.

17. A Fras-le está considerando parcerias estratégicas para impulsionar as vendas ou desenvolver novos produtos?

uma via de mão dupla que tem nos permitido crescer e sermos bem avaliados, como mostra a última pesquisa da Cinau.

19. Como a Fras-le avalia o sucesso de suas campanhas e iniciativas?

O segredo está nas pessoas. Essencialmente, a Frasle Mobility é B2B. Mas nossas marcas são P2P. Tem uma pessoa pensando e fazendo algo dentro da companhia que vai refletir em uma pessoa que abrirá uma caixinha de nossas marcas e pagará por ela. Como gostamos de ser tratados é como acreditamos que devemos tratar quem será impactado pelas campanhas, produtos e em todos os nossos pontos de contato.

20. Este espaço é dedicado a você para transmitir uma mensagem às 53 mil oficinas que recebem nossa MALA DIRETA. Fique à vontade para compartilhar sua mensagem.

18. Quais são os diferenciais que os produtos e serviços da Fras-le possuem para sobressair perante os seus concorrentes? E como eles são percebidos pelos reparadores?

O foco é repetir boas experiências com todos os elos da cadeia de valor em todos os pontos de contato da empresa e suas marcas. Isso significa não só produtos de qualidade e disponibilidade no ponto de vendas com boa cobertura de modelos, como também assistência técnica, proximidade e prontidão para solução de problemas para auxiliar e dar ciência ao reparador do nosso empenho e compromisso com seu sucesso. Em paralelo, é importante entender e compartilhar experiências a exemplo dos fóruns oferecidos pela Oficina Brasil, permitindo que os próprios mecânicos sejam protagonistas e discutam sobre os pontos positivos das nossas marcas e produtos, bem como, onde temos espaço para melhorar. É

A Fras-le completa 70 anos oferecendo tecnologia e inovação em componentes de freio para levar o melhor para a sua oficina. Uma marca de sucesso que se junta a outras marcas icônicas, tais como Nakata, Fremax e Controil, para formar uma empresa: a Frasle Mobility, que nasce com esta história de sucesso e um futuro ainda mais brilhante. Vivenciar e fazer parte deste novo ciclo nesta fase da minha carreira é, sem dúvida, muito gratificante. A Mobility construirá marcas cada vez mais fortes, globais e um ecossistema robusto, em conjunto com distribuidores, varejistas e mecânicos, que garanta, não só o sucesso no dia a dia dos profissionais do setor, mas também um ambiente de economia, satisfação e confiança para os usuários do mercado de manutenção automotiva.

10 Fevereiro 2024 • oficinabrasil.com.br ENTREVISTA

Fiat Strada 2024 com motor 1.0 turbo de 130 cavalos passa pela nossa avaliação

Levamos para oficinas independentes o modelo líder de mercado, que agora recebe novo pacote visual, além do motor mais potente e tecnológico. Veja como a Strada se saiu nas mãos dos nossos especialistas!

Apicape de entrada da montadora italiana ganhou novos atributos para acirrar o mercado de picapes (onde já é líder no segmento). Como destaque, recebeu o motor Turbo 200 propulsor flex de 1 litro de volume com sobrealimentação e sistema MultiAir de comando de válvulas, que é capaz de gerar, a 5.750 giros, uma potência de 130 cv quando abastecido com etanol.

O propulsor, que estreou no Pulse faz parte da premiada família de motores turbo flex desenvolvida pela Stellantis. O Turbo 200 Flex conta com melhor performance e mais eficiência, graças ao uso de três cilindros, seguindo a tendência mundial de downsizing e entregando um conjunto mais leve.

Ele traz turbocompressor de baixa inércia da BorgWarner, com Wastegate eletrônica, que se ajusta rapidamente às demandas do acelerador de forma ativa. Além disso, conta com o MultiAir III, uma tecnologia exclusiva da Stellantis, dotada de um sistema eletro-hidráulico para fazer um controle flexível das válvulas de admissão, mantendo a alta performance sem comprometer o consumo de combustível, com baixo nível de emissões.

A nomenclatura “Turbo 200” se dá pois o modelo possui torque de 200 Nm, o que faz com que o veículo, que pesa 1.251 kg, vá de 0 a 100 km/h em apenas 9,5 segundos.

A nova motorização é combinada com o câmbio automático CVT com opção de sete marchas e três modos de condução (Automático, Manual e Sport).

Tudo isso garante à Fiat Strada títulos importantes, como o de primeira B-picape compacta com motor turbo e câmbio CVT do Brasil.

HISTÓRIA

Tudo começou em outubro de 1998, quando a Strada chegou ao mercado brasileiro. Desenvolvida e fabricada no Polo Automotivo Stellantis de Betim, a picape teve diversos marcos de ineditismo ao longo de sua vida, como em 1999, quando passou a ter cabine estendida; em 2009, quando ganhou cabine dupla; e em 2013, com a terceira porta. Recentemente, em 2020, passou por uma grande mudança: ficou ainda mais robusta, ganhou novo visual e adquiriu novas funcionalidades. O sucesso tem sido tanto que, recentemente, a Fiat comemorou o marco de 400 mil unidades produzidas do modelo desde que foi reestilizado.

Nesses 25 anos, a Strada já passou por muitas mudanças e inovações, e atingir todo esse tempo sendo referência de confiança e qualidade no mercado é uma conquista notável para qualquer veículo, especialmente em um segmento que está cada vez

AVALIAÇÃO DO REPARADOR 12 Fevereiro 2024 • oficinabrasil.com.br
Kaic Sales kaic.sales@oficinabrasil.com.br

Inclusive, para celebrar em grande estilo, a Fiat apresentou uma edição especial em comemoração ao ano de aniversário de 2,5 décadas dessa icônica picape. A exclusiva Edizione

25 possui apenas

1.025 unidades disponíveis

mais competitivo.

Com todos os recursos da versão Ultra, a série limitada Edizione 25 traz um visual diferenciado digno de colecionador. Por dentro, carrega um badge numerado de 0001 a 1.025, que é colocado abaixo do painel multimídia destacando a edição com um número único.

CARACTERÍSTICAS TÉCNICAS

A maior inovação da Fiat Strada 2024 fica por conta do conjunto do trem de força, que pode assustar alguns que veem a picape 1.0 rodando por aí, pois o motor e o câmbio CVT (Transmissão Continuamente Variável) são características anteriormente aplicadas em modelos Hatch de entrada, por exemplo, não em um carro monovolume que possui capacidade de carga.

Outro destaque da picape é sua impressionante capacidade

de carga, ideal tanto para quem utiliza o veículo para trabalho quanto para quem busca lazer.

As opções de cabine Plus carregam até 720 kg e 1.354 litros. Já as de cabine dupla oferecem 650 kg e 844 litros

A capacidade de reboque é de 400 kg (um diferencial em relação aos concorrentes). Uma das suas melhores funcionalidades também está na modularidade, já que contém quatro ganchos inferiores e seis superiores de fixação na caçamba, o que garante ainda mais segurança no transporte de cargas. Vale ainda mencionar a sua altura mínima do solo, entre 185 mm e 214 mm (variando de acordo com a versão), e seus ângulos de entrada e saída, de 23 graus e 29 graus, respectivamente. A Fiat garante que o novo modelo, produzido sobre a plataforma MPP, especialmente

já carrega a nova identidade da marca. O torque é claramente estampado junto ao nome do

desenvolvida para picapes, inova em performance, robustez e segurança, tendo os seguintes itens como destaque:

• foco na integridade do habitáculo;

• moderna arquitetura eletroeletrônica;

• alta eficiência energética;

• grande rigidez torcional;

• 90% dos aços são de alta e ultrarresistência;

• controle de estabilidade;

• suspensões com menor diâmetro de giro do segmento.

O modelo recebeu, no seu novo conjunto, nova calibração da direção elétrica; na suspensão, novos amortecedores e molas dianteiras, tendo aumento da rigidez torcional (handling); nos freios, nova pinça, com aumento da eficiência de frenagem.

O novo motor Turbo 200 promete entregar TECNOLOGIA, PERFORMANCE e maior ECONOMIA de combustível. Segundo a montadora, trata-se da primeira aplicação desse motor em picapes compactas.

Sua nomenclatura, “T200”,

Fabricado com o bloco 100% em alumínio, trazendo modernidade e redução de peso a sua construção, o motor também é equipado com injeção direta de combustível e o sistema Fiat MultiAir de terceira geração

tura de válvulas em um mesmo ciclo de cames; ou até, se assim preferir fazer a montadora, um desligamento de cilindro – porém, acreditamos que, como o motor possui apenas três cilindros, essa função não se incorpora a esse motor.

modelo – no caso, os 200 Nm de torque obtidos a 1.750 rpm. Sim, o torque máximo do motor já é alcançado em baixa rotação. Isso se dá principalmente por conta do sistema “MultiAir”, que possui um sistema de gerenciamento de carga do motor muito mais fino e rigoroso, já que realiza a abertura de válvulas de admissão de uma forma muito mais dinâmica, ciclo por ciclo, rotação por rotação, cilindro por cilindro, podendo ter, dentro das suas estratégias de funcionamento, funções como: atraso ou adiantamento da abertura das válvulas; múltipla aber-

Já a potência de 130 cavalos é obtida a 5.750 rpm, uma potência relativamente boa se compararmos a uma versão já um pouco anterior, como a Fiat Strada Adventure, por exemplo, que era anteriormente equipada com um motor Etorq de 132 cavalos – um motor um pouco mais antigo, é claro, sem turbina, sem injeção direta, sem tantos avanços tecnológicos. Mas isso mostra que o conceito de downsizing do novo modelo foi aplicado com muito sucesso.

CÂMBIO AUTOMÁTICO

As versões da nova Strada que possuem câmbio automático recebem a tecnologia CVT (Transmissão Continuamente Variável) com sete marchas simuladas nos módulos Manual e Sport. Esse sistema foi criado pelas montadoras para aqueles

Fevereiro 2024 • oficinabrasil.com.br
14
AVALIAÇÃO DO REPARADOR

clientes que se queixavam de que os câmbios CVT tiravam a sensação de “controle” do carro pelo motorista. Sendo assim, foi criada essa estratégia em que o sistema simula a realização das trocas de marchas, com aquela velha sensação de trabalho interno da transmissão. Essa sensação fica bem mais nítida ao se conduzir no modo Sport, que, aliás, ganhou até um botão personalizado no painel, o qual, ao ser acionado, faz com que todo o ajuste da picape seja alterado para uma maior sensibilidade do pedal acelerador. Essa função permite ainda que o giro do motor atinja um pico um pouco mais alto do que o convencional, fazendo com que a sensação de esportividade entre pelos ouvidos do motorista.

CONSUMO

O novo motor, além de chamar atenção pela potência e torque, também encanta por sua relação de consumo de combustível, obtendo bons números e recebendo a etiquetagem A do Inmetro.

Dentro do perímetro urbano, a nova Strada teve média de consumo de 8,3 km/l com etanol e 12,1 km/l com gaso -

lina; já na estrada, obteve 9,4 km/l com etanol e 13,2 km/l com gasolina.

VISUAL

No pacote visual, o modelo ganhou novas linhas, trazendo mais robustez e esportividade nas versões Ranch e Ultra, com nova grade frontal, novo para-choque, novos faróis de neblina em LED e novo skid plate.

A versão Ultra, já conhecida na gama da Toro, chega como novidade para completar a família Strada. Com mais esportividade, ela entra no topo da linha do modelo – junto com a Ranch, que também traz novidades. A Ultra se destaca pela sua exclusividade. A arrojada grade possui friso vermelho, o que traz ainda mais diferenciação ao visual do modelo. Por dentro, os bancos dianteiros levam a escrita com o nome da versão bordado em vermelho.

A Strada, em sua nova linha 2024, apresenta ainda mudanças no design.

Em ambas as versões, a grade traz também o distintivo da Fiat. Além disso, essas versões ganham uma dose extra de conforto, com novos bancos

de couro e novos painéis de porta com detalhes em couro.

O modelo traz externamente, nas versões Ultra e Ranch, dianteira com nova grade frontal, novo parachoque integrado, novos faróis de neblina em LED e novo skid plate, que conferem um visual muito mais robusto e agressivo

Para completar, as versões Ultra, Ranch e Freedom ganham novas rodas e, por dentro, um novo volante, com Fiat Script e botão Sport integrado (esse último apenas nas ver-

em manobras em marcha à ré. Há ainda o TC+ (Traction Control Plus), que faz o controle eletrônico do eixo de tração em situações leves de off-road, freando a roda que tiver menos tração e proporcionando maior aderência e desempenho em terrenos desafiadores. A picape conta também com sistema multimídia Uconnect 7, que oferece conectividade avançada, com Wireless Android Auto e Apple CarPlay. Para completar, traz ar-condicionado digital automático e um prático carregador sem fio.

NA OFICINA

Para realizarmos a nossa avaliação, recorremos sempre à ajuda de um profissional reparador. Desta vez fomos até a High Tech Service, oficina localizada na Rua Guaicurus, 957, Água Branca, São Paulo,

sões com motor turbo flex), além de novos painéis de porta com detalhes em couro.

Vale dizer que a Fiat Strada é equipada com recursos como controle eletrônico de estabilidade, que corrige automaticamente as saídas dianteiras e traseiras, e sistema Hill Holder, que mantém o freio acionado automaticamente por aproximadamente dois segundos ao arrancar em ladeiras e

SP, onde quem nos deu todo o suporte foi o Roberto Ghelardini Montibeller, chefe da oficina e proprietário do negócio. A oficina de Roberto realiza todo tipo de serviço, como suspensão, freios, elétrica, motor, direção e injeção eletrônica.

Fevereiro 2024 • oficinabrasil.com.br AVALIAÇÃO DO REPARADOR 15

Roberto, além de ser um dos velhos conhecidos do Jornal Oficina Brasil, ainda foi um dos primeiros integrantes do GOE (Grupo de Oficinas Especializadas), do qual faz parte até hoje, buscando informações e trocando conhecimentos com seus colegas de profissão.

Sobre a nova Fiat Strada, ele diz não conhecer muito, mas as antigas versões são sinônimos de confiança e boa mecânica, com componentes simples, mas que funcionam bem.

Informamos para ele que o motor agora é 1.0 de três cilindros turbo. Ele se espanta um pouco por gostar da antiga propulsão 1.4, mas concorda que aquele motor tenha ficado um pouco defasado em tecnologia.

A estratégia atual da Fiat de compartilhamento de motor é muito positiva, e isso reforça o fato de que os novos motores GSE são um sucesso de tec -

nologia, potência e conforto, tudo isso lincado com as novas transmissões, inclusive CVT, o que mostra que o projeto desses modelos é bem promissor dentro do mercado.

Dento do cofre do motor, o conjunto fica bem-disposto e com bom espaço para trabalhos, com exceção da turbina e, possivelmente, dos bicos injetores, que podem causar um certo incômodo para serem retirados caso isso seja necessário.

Vale sempre reforçar que os veículos turbo ou sobrealimentados requerem mais componentes para controle

desse sistema, e mais componentes requerem maiores cuidados com a manutenção, como por exemplo a troca correta e dentro do prazo do filtro de ar do motor.

A falta de manutenção ou a manutenção incorreta podem comprometer significativamente o desempenho do carro. Em casos extremos, podem ser responsáveis por danos à turbina e aos rotores, que são muito sensíveis a corpos estranhos.

Falando ainda de sensibilidade, alertamos para o fato de que o sistema de alimentação de combustível desse motor trabalha com injeção direta, um sistema que é bem sensível ao combustível utilizado, e qualquer sintoma de adulteração nesse combustível pode gerar luzes de alerta e avarias internas nos componentes.

Outro ponto é a importância de o sistema de lubrificação estar sempre dentro das conformidades, pois além do motor turbo trabalhar com

maior giro e necessitar sempre de uma boa lubrificação, o sistema de comando de válvulas funciona através de pressão hidráulica, acionado por eletroválvulas, e para que essa função obtenha êxito no seu funcionamento é fundamental ter o óleo lubrificante em perfeitas condições de uso e dentro da correta quantidade.

A bateria tem capacidade de 60 Ah, 320 A de corrente e suporta a tecnologia Start-Stop, mesmo esse sistema não sendo equipado na Strada.

O sistema de iluminação é Full LED, o que para Roberto é o futuro certo dos automóveis, pois evita “probleminhas chatos” com troca de lâmpadas.

Ao erguer o veículo no elevador, encontramos um problema: o estribo lateral instalado como acessório atrapalha muito o posicionamento nos pontos de apoio do elevador. Levou um certo tempo até encontrarmos um ponto confiável para que o veículo fosse suspenso. Com isso, nos questionamos sobre qual a funcionalidade real daquele estribo, pois o carro possui apenas 185 mm de altura do solo, distância que não justifica a utilização de um estribo se não apenas para o efeito visual.

Já quanto à parte de baixo do veículo, só temos elogios, pois a Strada é montada sobre a plataforma MPP, que é espe -

cialmente desenvolvida para picapes, e isso é garantido pela qualidade de fabricação que podemos observar.

No conjunto de suspensão traseiro, a Strada é montada sobre eixo rígido com elemento elástico constituído de molas parabólicas longitudinais, os famosos feixes de molas.

Com apenas um feixe, o conjunto surpreende, pois a capacidade de carga é bem elevada para uma suspensão que pode ser considerada “simples”.

Como é comum nas picapes, o estepe fica por baixo da carroceria, fixado por um parafuso com cabo que é solto na parte superior da caçamba.

O freio traseiro é a tambor, com acionamento de estacionamento por cabo. Alguns podem até reclamar da ausência do freio a disco, mas podemos garantir que o modelo tem um bom desempenho de frenagem.

Por baixo também podemos observar o tanque de combustível, que é revestido por uma superfície metálica, garantindo proteção contra pequenos incidentes na parte inferior do veículo.

Com esses detalhes, podemos concluir positivamente a avaliação da Nova Fiat Strada Turbo, tanto quanto ao conjunto mecânico do motor e transmissão quanto à suspensão, direção e aos reforços estruturais do veículo.

Fevereiro 2024 • oficinabrasil.com.br AVALIAÇÃO DO REPARADOR 16

Ultracar e Bosch Firmam Parceria Inovadora no Segmento Automotivo

A Automec representou um marco histórico para a Ultracar, consolidando-se como um divisor de águas para a empresa. Líder no desenvolvimento de soluções inovadoras para gestão automotiva, a empresa escolheu a Automec para o prélançamento de seu novo e mais completo sistema de gestão, o software Ultracar. Foi nesse cenário que ocorreu o primeiro encontro entre Fabio Moraes, CEO da desenvolvedora de software, com a diretoria da Bosch Conceito Módulo, estabelecendo, então, o início de uma parceria estratégica.

Com tudo caminhando muito bem, a divulgação sobre essa união se iniciou e, a partir dela, o marketing espontâneo foi gerado.

“Várias oficinas Bosch Car Service demonstraram interesse em utilizar o novo sistema Ultracar. A Rede então expressou seu interesse em expandir a parceria e o contrato, inicialmente limitado às oficinas do Conceito Módulo, logo ganhou novos horizontes”, conta Fabio Moraes.

O caminho inicial para a homologação do sistema Ultracar com a Bosch Car Service, rede global de oficinas mecânicas, envolveu

visitas, reuniões e uma série de análises detalhadas que refletiram o comprometimento da Ultracar em atender aos rigorosos e necessários requisitos da Bosch, desde a infraestrutura dos servidores até a conformidade com a lei LGPD.

Após um período empenhado de validação, a empresa Ultracar recebeu a grande notícia de que seu novo software atendia plenamente às expectativas da rede Bosch Car Service.

“Essa conquista não teria sido possível sem o esforço incansável de toda a equipe Ultracar, desde o time financeiro, RH e comercial,

até as frentes responsáveis pelo novo produto e pelo atendimento ao cliente. Todas as pontas tiveram avanços grandiosos”, afirma Fabio Moraes.

Foram 3 anos e meio de muita dedicação ao desenvolvimento de uma plataforma 100% nova, mais completa e integrada, além do aprimoramento em toda a estrutura dos times.

Fabio Moraes e toda a equipe, reuniram mais de 30 anos de experiência em gestão para oficinas para criar o sistema Ultracar, elogiado por sua praticidade, facilidade de operação e inúmeras novas funcio-

nalidades.

Dentro de toda essa engrenagem da parceria Bosch Car Service e Ultracar, foram estabelecidos vários benefícios significativos para as oficinas da rede, incluindo descontos atrativos e uma série de aplicações exclusivas para essa união. “Hoje, oficinas Bosch Car Service, além de poderem contar com o sistema de gestão mais inovador do setor automotivo, poderão aproveitar todas as integrações com equipamentos de diagnóstico e conexões com outras plataformas da rede”, diz Fabio.

INFORME PUBLICITÁRIO

NSU Spider Wankel, o esportivo que foi o primeiro a empregar o motor rotativo Wankel de rotor único

Apresentado no Salão do Automóvel de Frankfurt de 1963, o NSU Spider chamou atenção do público, pois foi o primeiro carro equipado com o motor rotativo Wankel.

O NSU/Wankel Spider foi uma das atrações Salão Automóvel de Frankfurt em 1963. O destaque do pequeno cabriolet de dois lugares não era tão somente o seu belo desenho, estilizado por Franco Scaglione, designer da Bertone e que fora baseado no cupê NSU Sport Prinz lançado cinco anos

antes. A atração principal do modelo estava em sua peculiar mecânica e o que realmente entusiasmou o público presente no certame. Sob o capô do esportivo havia o primeiro motor Wankel de rotor único do mundo já empregado em um carro de produção seriada.

No início da década de 1950, a NSU estava a trabalhar em um conceito de motor totalmente inédito, em colaboração com o engenheiro mecânico Felix Wankel. Nascido em Lahr, Baden, em 1902, o futuro engenheiro iniciou sua carreira profissional como aprendiz de balconista de editora. Autodidata, Wankel começou a experimentar o controle de vál-

vula rotativa para um motor de motocicleta no final da década de 1920.

A ideia de Wankel para o projeto do seu motor rotativo era essencialmente aproveitar as pressões criadas pela combustão interna para girar um rotor em formato triangular dentro de um bloco de motor de formas ovaladas. O interior do bloco do motor permite que o rotor triangular curvo complete uma rota oval em torno de um virabrequim. As vantagens desse formato de câmara de combustão incluem economia de peso e espaço, bem como a capacidade do motor de atingir altas rotações sem problemas.

Em 1934, o primeiro motor

rotativo foi posto em funcionamento. Felix Wankel trabalhou em sua ideia pelo resto da vida. Durante a Segunda Guerra Mundial, Wankel foi apresentado a Walter Froede no Instituto Alemão de Pesquisa Aeronáutica. Froede, que tinha doutorado em engenharia, ingressou como gerente do departamento de testes da NSU em 1941, aposentou-se em 1975 como chefe de desenvolvimento. Ele e Felix Wankel partilhavam a paixão pela inovação e o seu projeto favorito era o motor rotativo. Em 1951, os dois conhecidos chegaram rapidamente a um acordo; um contrato foi assinado e o trabalho conjunto de desenvolvimento começou.

MOTOR ROTATIVO, INOVAÇÃO E OUSADIA

O primeiro resultado produzido pela cooperação entre NSU e Wankel foi a instalação de um motor de 50 cm³ em uma motocicleta NSU Supermax. O motor recebia um soprador de ar controlado por uma válvula rotativa, que gerava uma potência de 13,5 cv a impressionantes 12 mil rpm. O passo seguinte foi investir no seguimento de carros de passeio. Com o mercado de automóveis crescendo exponencialmente em meados da década de 1950, a empresa logo se concentrou no desenvolvimento de um

DO FUNDO DO BAÚ 18 Fevereiro 2024 • oficinabrasil.com.br
Anderson Nunes

Uma visão em corte do motor rotativo Wankel empregado no Mazda MX-30 híbrido plug-in, único rotor, 830 cm³, com injeção direta e alta compressão (11,9:1), 75 cv e 12 m.kgf de torque

motor que pudesse equipar um carro esportivo.

Nesse ínterim, Wankel avançou no conceito do motor, designando-o como motor de pistão rotativo (Drehkolbenmotor em alemão). Neste tipo de motor, um pistão oval de três pontas, também conheci -

do como rotor, gira dentro de uma carcaça quase circular que também gira. A NSU firmou contrato com Felix Wankel com o novo objetivo de desenvolver estes motores de pistão rotativo, comumente referidos pela abreviatura “DKM”. 1º de fevereiro de 1957 ficou marca -

do com um grande dia na NSU em Neckarsulm: nesta data pela primeira vez o DKM 54, o primeiro motor de pistão rotativo do mundo, deu partida em uma bancada de testes. O motor de pistão rotativo funcionou suavemente, impressionando os engenheiros de desenvolvi -

Gerd Stieler von Heydekampf, então Presidente do Conselho de Administração da NSU, revela aos funcionários o “NSU Spider”, seu nome oficial na época

Um raio-X do motor Wankel no cofre do NSU Spider, o modelo teve a primazia ser o primeiro automóvel produzido em massa a receber o motor de pistão rotativo, em sua versão inicial oferecia 50 cv, em variantes posteriores aplicadas em carros de competição o diminuto motor extraía 100 cv

mento. Porém, após 15 horas de funcionamento, os primeiros problemas de vedação começaram a aparecer. E assim, os engenheiros de desenvolvimento da NSU decidiram retrabalhar o conceito do motor desde o início. Para reduzir sua complexidade e aumentar as chances de uso do motor em um modelo de produção, o pistão do motor seguinte giraria dentro de uma carcaça fixa. No início de 1959, KKM, sigla em alemão

de Kreiskolbenmotor, motor de rotação planetária, é apresentado, o KKM 250 foi acionado pela primeira vez na bancada de testes.

Após anos de trabalho de desenvolvimento, o motor foi finalmente instalado pela primeira vez em um veículo de teste: um NSU Prinz. Na época, o discreto Prinz verde-hera não causou grande impacto na fábrica de Neckarsulm; apenas alguns especialistas sabiam qual o trem de força estava

19 Fevereiro 2024 • oficinabrasil.com.br
DO FUNDO DO BAÚ
Mazda MX-30 E-Skyactiv R-EV, o utilitário esportivo japonês atualmente é o único veículo do planeta a adotar o motor Wankel, sua função é apenas alimentar as baterias, deixando para o motor elétrico a tarefa de movimentar as rodas

Um dos motes das propagandas era: esportivo, bonito e inovador: o NSU/Wankel Spider

Em outro desenho em corte do NSU/Wankel Spider é possível ver como o motor de pistão rotativo é compacto, o que possibilitava a montagem na parte inferior do porta-malas traseiro

no compartimento do motor na parte traseira. E assim, no verão de 1959, o carro com seu novo motor fez um passeio pelas ruas de Neckarsulm e arredores. Pouco tempo depois, os engenheiros instalaram o sucessor do KKM 250, o KKM 400, em um NSU Sport Prinz.

MOTOR WANKEL PASSA A SER LICENCIADO

Em setembro de 1963, pouco antes do Salão Internacional do Automóvel de Frankfurt, o NSU Spider é revelado na fábrica de Neckarsulm. O carro foi recebido com entusiasmo, principalmente pelo seu motor revolucionário.

De linhas simpáticas, media apenas 3,58 metros de comprimento e pesava 700 kg. O motor de rotor único KKM 502, com uma vela de ignição e cilindrada de 996 cm³, apresentava taxa de compressão de 8,6:1, fornecia potência de 50 cv a 5.500 rpm e torque de 8 m.kgf 3.500 rpm. Com a transmissão, o alternador

e o motor de arranque, o motor pesava apenas 125 kg. Ocupava tão pouco espaço que podia ser instalado sem grandes intervenções no lugar do motor de quatro cilindros. Isso permitiu que o Spider recebesse um porta-malas dianteiro e traseiro. A notícia de suas vantagens se espalhou rapidamente e logo fabricantes conhecidos de automóveis e motores recorreram a Neckarsulm para obter licenças para a nova tecnologia de motor rotativo - incluindo General Motors, Daimler-Benz, Porsche, Nissan, Toyota e Toyo Kogyo - hoje conhecida como Mazda.

O negócio de licenciamento era lucrativo para a NSU, mas as vendas do NSU/Wankel Spider eram lentas. A partir do outono de 1964, a potência passou para 54 cv a 6.000 rpm. O catálogo de cores foi ampliado com as pinturas Alfa Red ou Lily White e custou cerca de 8.500 marcos alemães. Em julho de 1967,

exatamente 2.375 unidades do primeiro carro Wankel haviam sido construídas. A NSU fez outra tentativa de oferecer motor Wankel em 1967, agora empega va um motor de rotor duplo no sedã NSU Ro 80 – mas nova mente sem o esperado sucesso de mercado. Hoje, porém, os carros NSU com motores Wankel são clássicos apreciados, principal mente por causa de sua raridade. E ainda contam a história do espírito inovador da tradicional marca NSU.

Atualmente somente a ja ponesa Mazda produz o motor Wankel com pistão rotativo, que é oferecido no utilitário esportivo Mazda MX-30 em sua variante híbrida plug-in, apresentada em janeiro de 2023. Seu sistema de transmissão opera em série, con tando com um motor rotativo que atua como extensor de autonomia para recarregar as baterias, mas não para acionar diretamente as rodas do veículo. O motor Wankel é uma unidade de rotor único de aspiração natural com volume de câmara de 830 cm³, injeção direta de gasolina. Sua potência nominal é de 74 cv e 12 m.kgf de torque.

20 Fevereiro 2024 • oficinabrasil.com.br DO FUNDO DO BAÚ
O primeira NSU/Wankel Spider a sair da linha de montagem é comemorado pelos funcionários da fábrica da NSU Neckarsulm

Multímetro: Compreendendo os Instrumentos Analógicos e Digitais

Conheça mais sobre essa ferramenta extremamente importante em eletrônica que permite diagnosticar problemas, realizar testes e garantir o funcionamento adequado de circuitos elétricos

Em um ambiente onde se fala tanto de osciloscópio para o diagnóstico, a pergunta é o seguinte:

Qual o motivo de falarmos de multímetro analógico?

A resposta é bem simples:

Não começamos uma casa pelo telhado e sim pelo alicerce.

Então vamos fazer essa viagem partindo do alicerce e entender do analógico também, como vemos na imagem temos o terminal negativo onde ligamos a ponta de prova preta, o terminal positivo onde ligamos a ponta de prova vermelha, o terminal DCmA que usamos somente para me -

Neste exemplo podemos medir a voltagem contínua DCV começando na escala de 0,1 até 1000 volts, a voltagem alternada ACV de 10 até 1000 volts, a resistência em ohms começando em 1 ohm até 10 kilohms e a os miliamperes começando de 50uA até 250

dir a faixa de miliamperes em conjunto com a ponta negativa.

O multímetro analógico é muito mais sensível que o digital, por exemplo se for feito um teste na pista de um potenciômetro do corpo de borboleta ou do pedal do acelerador, qualquer falha será facilmente visualizada no ponteiro do mostrador.

Passando para o multímetro digital temos praticamente as mesmas escalas, com a diferença da medição da corrente, que neste caso podemos testar até 10 amperes e com o acréscimo da posição hFE, em que podemos medir transistores e o teste >+ para teste de diodos.

Vamos agora nos deter em um multímetro digital direcionado para o setor automotivo no qual as escalas são automáticas

Todas as posições em branco são selecionadas quando se vira o seletor para a posição,

Com as pinças conectadas nesta posição conseguimos medir as voltagens contínua ou alternada, medir as resistências em ohms, diodos, continuidades com bip e capacitância, Dwell ou pulso em milisegundo e nesta posição conseguimos através da tecla range selecionar o número de cilindros: 2, 3, 4, 5, 6 e 8 também as frequências (Hz) ou Duty Cycle (Duty)

já as posições em azul precisamos apertar as tecla FUNC após selecionar.

Na posição kRPM precisamos trocar as pinças normais por uma indutiva para efetuar a medição como também para a temperatura colocar uma pinça de temperatura, sempre respeitando as escalas que vem no manual de instrução

Fevereiro 2024 • oficinabrasil.com.br
DO FUSCA AO TESLA 22

Já para as medições de corrente em uA/mA e 20A temos que mudar a pinça positiva para os bornes correspondentes e selecionar a mesma referência na chave rotativa.

Temos neste caso também as teclas HOLD para congelar a medição, a tecla MAX/MIN para salvar as duas medições

e resistências nos diversos equipamentos, sensores e atuadores.

e também a tecla USB para ligação e interação com o computador com apresentação da tela da imagem

Apesar dos avanços tecnológicos e de novos equipamentos o multímetro ainda continua imprescindível para os testes eletroeletrônicos automotivos tais como continuidade em chicote elétrico

Como toda ferramenta devemos escolher muito bem a sua qualidade, no caso do multímetro preferir os que têm maior teste de corrente, para teste de fuga de corrente, e também se no teste de continuidade na opção do bip é bem rápida a resposta do bip quando encostamos as pontas de prova, também sua precisão como também de tempos em tempos a sua aferição.

Fevereiro 2024 • oficinabrasil.com.br DO FUSCA AO TESLA 23 TODOS OS CONTEÚDOS ESCRITOS POR COLABORADORES PUBLICADOS EM NOSSO VEÍCULO SÃO DE INTEIRA E TOTAL RESPONSABILIDADE DOS AUTORES QUE OS ASSINAM.

AULA 85 – Recepção do Cliente

Devemos criar procedimentos e processos internos que visam um bom e cordial atendimento na recepção do Cliente, afinal de contas, precisamos dele no negócio oficina mecânica, e gerar uma boa experiência é um desafio

Não é nenhum segredo, o Cliente é quem paga todos os salários de uma empresa ao gastar seu dinheiro neste estabelecimento, ou pode demitir todos os colaboradores e até os proprietários, basta gastar o seu dinheiro em um outro local.

Essa experiência é o que define quem consegue manter e aumentar seus clientes, ou aquele que só perde clientes, que tem uma clientela envelhecida, com poucos recursos. É um grande segredo saber manter e fidelizar os clientes, e a recepção é um grande começo.

ATENDER BEM O CLIENTE É UM GRANDE DIFERENCIAL

Um olhar nos olhos, dar um bom dia ou boa tarde, oferecer um café, uma água, ou bolacha, e acima de tudo, dar as “boas-vindas” ao Cliente, com um leve e cordial sorriso. O serviço de agendamento pode dar pausas entre um e outro atendimento, e a recepção do Cliente quebra paradigmas ou até mesmo um ambiente de dor, afinal de contas, quando o carro quebra é uma dor, uma correia dentada quebrada, um amortecedor estourado, um vazamento no arrefecimento, e daí por diante.

TRANSFORMAR UMA DOR EM UMA BOA EXPERIÊNCIA É UM SEGREDO

Mas o nosso mercado automotivo é assim, cheio de surpresas, podemos transformar uma dor do cliente em ter um carro em melhores condições de uso, um carro quebrado, danificado, sem funcionar, em um patrimônio bem cuidado e mais valorizado. Aliás essa frase deve ser mais usada nas oficinas brasileiras, carro é um item caro, com impostos altos, manutenção cara, mas é um patrimônio, até no imposto de renda ele é declarado! Portanto quando na recepção há uma preocupação com os devidos cuidados com o dono do carro, a experiência já começa a ser diferente e mais valorizada.

OLHAR NOS OLHOS

DO CLIENTE E SORRIR, UMA REGRA SIMPLES E FUNCIONAL

Olhar nos olhos mostra

preocupação com quem você está atendendo, parar mesmo por segundos o que está fazendo e dar a devida atenção faz uma grande diferença. E se chegar mais um cliente e temos um em atendimento, basta ser cordial, olhar nos olhos e cumprimentar, e pedir um minutinho para dar o atendimento correto. Uma curiosidade, é que se o primeiro Cliente for do tipo fiel ou defensor, geralmente ele vai ceder o seu tempo, e dar a preferência do atendimento a quem chegou depois. É curioso, mas tem cliente que prefere esperar e ter mais exclusividade no atendimento.

CONCLUSÃO

Tudo começa no atendimento inicial, é o primeiro contato direto com a empresa. Podemos pensar na fachada, nos anúncios publicitários, nas redes sociais, na propaganda boca a

boca! Mas na realidade, quando o cliente chega na oficina sendo bem recepcionado, muda toda a percepção para o lado positivo e também para o lado negativo. Por isso, é necessário ler muito, estudar muito, treinar muito a equipe, e sempre estar com o sorriso no rosto, cordialidade e gerando uma boa experiência ao Cliente.

Pensem nisso! Mas não se esqueçam, que além de ser mecânico, tem que ser gestor. Transforme a sua empresa em uma oficina forte! Faça a gestão da sua empresa, ela é muito importante e vital para a vida empresarial!

PRÓXIMOS TEMAS

Aula 86 Identificação das falhas relatadas

Aula 87 Não use algumas palavras!

Aula 88 A compra de peças

Aula 89 O fornecimento de peças

Abraço a todos e até o próximo mês e $UCE$$O!

Apoio:

Mecânico de Autos Profissional, Bacharel em ADM de Empresas, diretor da Auto Mecânica Scopino, idealizador do movimento Oficina Forte, professor do Umec e da TV Notícias da Oficina VW, integrante GOE e dos Mecânicos Premium, ministra treinamentos e palestras por todo o Brasil. Contrate um professor que tem uma empresa e experiência no setor automotivo.scopino@automecanicascopino. com.br - Instagram: @professorscopino @oficinaforte

GESTÃO 24 Fevereiro 2024 • oficinabrasil.com.br

Intercooler – Conheça o seu funcionamento dentro do sistema de sobrealimentação do motor

O intercooler desempenha um papel crucial no aumento da eficiência e no desempenho de motores turboalimentados, ajudando a manter a temperatura do ar de admissão em níveis ideais para otimizar a combustão

Osistema de pressurização de um motor turbo alimentado é composto por diversos subsistemas paralelos ao turbocompressor.

Estes subsistemas que envolvem a linha de pressurização positiva fazem parte do controle de pressão, segurança, tratamento do ar e participa na gestão das emissões evaporativas.

O ar atmosférico a nível do mar possui 78% nitrogênio, 21% oxigênio e 1% gases inertes, esta é a composição do ar aspirado ou sugado pelo rotor compressor.

Na figura (Fig.01) é possível observar no mapa do compressor, que nos dois eixos X e Y apresen-

ta as informações de pressão absoluta e massa de ar.

O controle de temperatura do ar de admissão ou pressurização (pós-compressor) é muito importante para o desempenho do motor em relação a presença e quantidade de oxigênio admitido. O aquecimento do ar é resultado da pressão na trajetória ou caminho que o mesmo segue internamente na carcaça compressora, lembrando que pressão gera aquecimento.

O ar aquecido, além de au-

mentar o desempenho do motor e economia de combustível, incrementa temperatura para a câmara de combustão, imagina 100 graus célsius entrando no motor ao invés de 20, 25 graus célsius, é uma grande diferença.(Fig.2)

Na figura 02 podemos observar uma pequena ilustração de como a quantidade de oxigênio presente no ar se altera de modo que a temperatura começa a subir, quanto mais quente menor a presença do O2. Agora imagine um cilindro do motor no momento da admissão com redução de O2

A figura 03 e 04 ilustra o aquecimento do ar internamente

na carcaça compressora.

O intercooler (figura 05 - em diversos formatos) é o elemento responsável pelo tratamento do ar no sistema de pressurização, está localizado entre o turbocompressor e o coletor de admissão e seu posicionamento no veículo está de acordo com o fabricante do veículo, seu dimensionamento é uma relação direta com a capacidade de resfriamento do ar e eficiência volumétrica da motorização utilizada. (Fig.06)

O formato (Fig.07), das aletas, a espessura, o material aplicado, a geometria dos canais e a mecânica dos fluidos para a passagem do

ar são fatores determinantes para que ocorra uma troca térmica eficiente do ar que passa pelo in tercooler. (Fig.08) A refrigeração do ar sob temperatura e pressão é realizada por condução troca tér mica por meio de material sólido, ou seja, o ar ambiente circula en tre as aletas conforme a (Fig. 07) por sua vez a aleta mais fina tem uma temperatura menor do que a base da canalização, que possui um formato elíptico estendido, dessa maneira o calor da canali

Marcio Cattani Instagram: @marciocattani marcio.cattani@masterpower.com.br
TURBOS 26
Fotos e ilustrações: Marcio C.
1 2 3 4 5

Temos novidade!

Venha se tornar um especialista com a Fras-le nessa nova rota.

O MODO TURBO FOI ATIVADO
ACELERE SEU CONHECIMENTO! Realização: Apoiadores: Whatsapp (11) 3073 - 0375 Fale conosco rota.oficinabrasil.com.br Siga nas redes sociais

Sensor de pressão diferencial do filtro DPF e as sua principais funções

Função, funcionamento, testes e dicas de diagnóstico do sensor de pressão do DPF que trabalha como preservadores da vida útil do filtro de partículas do diesel

Renato França

Esse sensor detecta a diferença de pressão na entrada e saída do filtro DPF e envia um sinal à central de controle do motor, que o utiliza para definir a porcentagem de fuligem calculada de acordo com os perfis de condução e o nível de entupimento do DPF.

Quando o sinal de pressão diferencial detecta um bloqueio muito maior do que o nível de bloqueio calculado de acordo com o ciclo de condução, o módulo de controle da injeção propõe uma regeneração.

Se a causa é atribuível a um comportamento de condução excepcional, os valores retornam aos valores padrão após a regeneração. Se não for esse o caso, a causa pode ser atribuída a mau funcionamento do motor e, portanto, após várias regenerações, a luz de avarias da injeção acende indicando um valor de pressão alta e entupimento do filtro DPF. (Fig.1 e Fig.2)

PIN OUT DO SENSOR

1 – 5V (+)

2 – Massa (-)

3 – Sinal

O sensor recebe uma alimentação de 5V e massa provenientes da central e envia um sinal de tensão variável de acordo com a pressão.

O sensor é constituído por

um circuito eletrônico para amplificação do sinal e por uma membrana sensível a variação de pressão. (Fig.3)

À medida que aumenta a pressão diferencial, aumenta o valor da tensão enviado à ECU. (Fig.4)

LEITURAS DO SENSOR

Em alguns sistemas a pressão medida pelo sensor é informada pela central de injeção e lida pelo scanner em mbar (mi-

libar) ou Kpa (kilopaschoal)

Quanto maior o valor da pressão, significa um maior entupimento do filtro DPF, o que pode acarretar em registro de falhas no sistema. (Fig.5)

Informações importantes:

Em caso de falha deste sensor:

A função de regeneração comandada não será habilitada e a luz de avarias acende no painel de instrumentos.

Fotos: Gaspar
2 3
REPARADOR DIESEL 28 Fevereiro 2024 • oficinabrasil.com.br
1
4 5

Em caso de substituição do sensor:

Efetuar via equipamento de diagnóstico a função “Alinhamento do sensor de pressão do DPF” ou “substituição do sensor de pressão” para correto funcionamento e leitura do sensor novo.

Não efetuar o alinhamento do sensor com valor de pressão e resistência de fluxo altos no DPF (DPF entupido). Para o alinhamento, o filtro DPF deve estar limpo

DICA – SENSOR DE PRESSÂO DO DPF FIAT

DUCATO

O sensor de pressão do DPF aplicado no fiat Ducato até 2017 possui uma particularidade: o diâmetro dos tubos do sensor, tanto de entrada quanto de saída, é o mesmo, podendo ser montados invertidos no sentido contrário do fluxo, o que ocasiona falha no sistema.

Abaixo o esquema correto das ligações das mangueiras desse modelo de sensor. (Fig.6 e 7)

6 7

Obs.: Nunca trocar o tubo de entrada pelo tubo de saída, pois a gestão do filtro de parti culado feita pela central de in jeção depende da informação gerada por este sensor. Caso invertido, a central entenderá que não houve êxito na rege neração ou ausência do filtro de particulado e fará processos

30

Volkswagen é escolhida pelos reparadores como a melhor montadora!

Confira alguns dos pontos que fazem com que a Volkswagen seja cada vez mais parceiras de vocês reparadores

TREINAMENTOS E PALESTRAS TÉCNICAS 60%

ATENDIMENTO NAS CONCESSIONÁRIAS 14%

DISPONIBILIDADE DE PEÇAS EM MODO GERAL 27%

SITES DAS MONTADORAS ESPECÍFICOS PARA REPARADORES 27%

ACESSO A INFORMAÇÕES TÉCNICAS OFICIAIS DAS MONTADORAS 28%

PREÇO DAS PEÇAS DE MODO GERAL 25%

IRO (Índice de Recomendação da Oficina)

A pesquisa IMAGEM DAS MONTADORAS 2020 realizada pela CINAU (Central de Inteligência Automotiva) reconheceu através da votação dos reparadores independentes a Volkswagen como a melhor montadora em 6 e 9 quesitos.

TEMPORADA

Volkswagen

OS TREINAMENTOS TÉCNICOS VOLKSWAGEN MAIS ESPERADO DO ANO ESTÃO DE VOLTA!

Confirma a grade de programação com os temas que você escolheu!

INJEÇÃO ELETRÔNICA VIRTUS 1.6 16 VÁLVULAS

Aguarde! Em breve as datas dos treinamentos serão anunciadas!

Acesse o site e fique atento ao lançamento da nova temporada!

www.noticiasdaoficinavw.com.br

ARREFECIMENTO GOLF GTI 2.0 EA888

MOTOR – Amarok V6

NOVAS TECNOLOGIAS em motores Turbo – T- Cross

TREINAMENTOS MINISTRADOS PELO PROFESSOR SCOPINO

Certificado Exclusivo Volkswagen

100% Gratuito

Conteúdo direto da fábrica

(11) 3071-4633 (horário comercial)

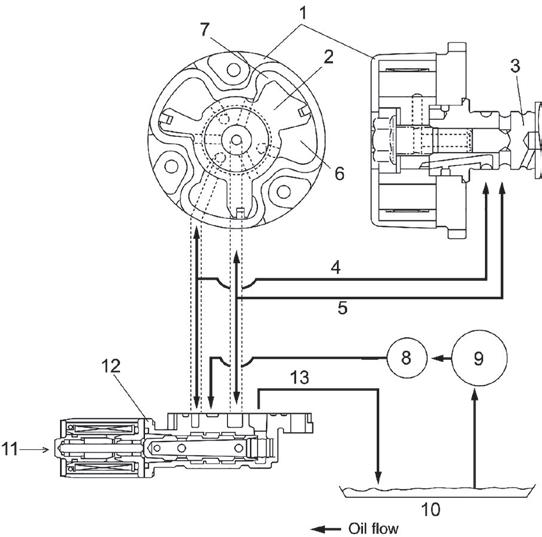
Tecnologia Automotiva: Diagnóstico do sistema de comando variável com scanner e osciloscópio

Na matéria deste mês vamos apresentar um sistema que ainda gera muitas dúvidas no momento do diagnóstico de falhas

Laerte Rabelo

Estou falando do sistema de comando variável, também conhecido como VVT (Variable Valve Timing) que em tradução livre significa ponto variável da válvula.

1. O que é o sistema de comando variável (VVT)?

VVT = Ponto Variável da Válvula

O módulo de comando do motor (ECM) muda o ponto da válvula de admissão e/ou escape de acordo com as condições do motor.

2. Qual é a finalidade do sistema de comando variável (VVT)?

A principal finalidade do VVT é a melhoria da eficiência volumétrica do ar da admissão, mudando o ponto de abertura e fechamento da válvula de admissão e/ou escape.

Uma comparação entre um motor VVT e outro sem VVT facilita a compreensão sobre a necessidade do VVT para um melhor desempenho do motor.

2.1 Eficiência volumétrica do ar da admissão sem VVT

Num motor sem VVT, a sobreposição das válvulas de admissão e escape é curta. O significado da sobreposição da válvula irei detalhar adiante. Quando o período da sobreposição da válvula é curto, o efeito da recirculação interna do gás de escape é muito pequeno.

Principalmente como a válvula de admissão é fechada muito tarde, ela permanece aberta por certo período de tempo durante o curso da compressão. O ar da admissão, portanto, escapa para

o coletor de admissão em baixa e média rotação do motor.

Em alta rotação do motor, entretanto, o ar da admissão não pode escapar facilmente devido à alta rotação do fluxo de ar da admissão (efeito inércia).

Para melhorar a eficiência volumétrica do ar de admissão em baixa e média rotação do motor nasceu o sistema VVT.

A figura 1 apresenta o funcionamento do sistema sem VVT com o motor em baixas e médias rotações.

A figura 1 mostra o funcionamento das válvulas e do pistão em baixas e médias rotações do motor.

Conforme mostrado no estágio Ponto Morto Superior (TDC), tanto as válvulas de escape como de admissão são abertas. O período durante o qual ambas as válvulas são abertas é chamado “sobreposição das válvulas”.

No estágio TDC, a quantidade de gases do escape deixada na câmara de combustão é muito pequena e a abertura da válvula de admissão também é muito pe-

quena.

Os gases do escape, portanto, não contribuem tanto para a combustão.

Após o estágio Ponto Morto Inferior (BDC), a válvula de admissão permanece aberta por um certo período. Como o pistão é então pressionado para cima no curso da compressão, algum ar fresco pode escapar para o coletor de admissão. Isto é uma perda da eficiência volumétrica do ar de admissão.

Já a figura 2 mostra o funcionamento do sistema com o motor em alta rotação.

Embora a válvula de admissão permaneça aberta por certo período durante o curso da compressão, o contrafluxo é cancelado devido à grande inércia do fluxo do ar de

admissão.

2.2 Eficiência volumétrica do ar da admissão com VVT

Para aumentar o efeito da EGR e melhorar a eficiência volumétrica do ar de admissão em baixas e médias rotações do motor, o sistema VVT avança o ponto de abertura e fechamento da válvula de admissão.

Em resumo:

Sobreposição das válvulas de admissão e escape é grande no ponto avançado.

O efeito EGR é grande!!!

O contrafluxo de ar fresco não existe no curso da compressão no ponto avançado.

Nenhuma perda na eficiência volumétrica do ar de admissão.

A figura 3 exibe a dinâmica gasosa do motor com a aplicação do VVT.

Se o sistema VVT avança o ponto de abertura da válvula de admissão, muito ar de admissão é admitido na câmara de combustão, onde muitos gases de escape ainda existem antes do TDC. Esta situação mistura ar fresco com gases do escape.

Como resultado, a temperatura da combustão cai e a emissão de NOx é reduzida.

Isto é chamado efeito EGR interno.

Como o ponto de fechamento é avançado além do ponto de abertura, o período de abertura da válvula durante o curso da compressão é muito curto, o que evita o contrafluxo de ar fresco no coletor de admissão.

Desta forma, a eficiência volumétrica do ar de admissão é melhorada.

2.3 Comparação entre VVT e sem VVT

A figura 4 mostra a vantagem em termos de eficiência volumétri-

Fevereiro 2024 • oficinabrasil.com.br CONSULTOR OB 34 1 2 3 4 5

ca de se utilizar o sistema VVT.

Observando a figura vemos que uma grande quantidade de contrafluxo existe em motores sem

VVT em baixa e média rotação do motor, existe uma certa extensão de perda conforme mostrado pela letra “delta”. Em outras palavras, o motor VVT ganha mais potência correspondente a este “delta” em baixa e média rotação do motor.

3. Componentes do sistema VVT

1; Polia sincronizadora do comando ADM

2; Rotor

3; Comando de válvulas de admissão

4; Passagem de óleo para a câmara de retardo

5; Passagem de óleo para a câmara de avanço

6; Câmara de retardo

7; Câmara de avanço

8; Filtro de óleo

9; Bomba de óleo

10; Cárter de óleo

11. Sinal de carga do ECM

Observando a figura 5, vemos que o sistema VVT consiste principalmente da polia sincronizadora do comando da admissão, válvula de controle de óleo (solenoide) e ECM.

Quando o óleo do motor é fornecido à câmara de avanço, o comando de válvulas da admissão e/ ou escape é avançado. O óleo do

motor é drenado da câmara de retorno.

Por outro lado, quando o óleo do motor é fornecido à câmara de retorno, o comando de válvulas da admissão e/ou escape é atrasado. O óleo do motor é drenado da câmara de avanço.

A passagem de óleo é mudada pela válvula de controle de óleo.

Um sinal de carga é enviado da ECM para a solenoide da válvula de controle de óleo.

A relação entre o ângulo de avanço e a relação de carga é descrita no decorrer do artigo.

4. Polia sincronizadora do comando.(Fig.6)

Aqui está um detalhe do rotor da polia sincronizadora do comando de admissão.

A figura 6 mostra um desenho interno visto pelo lado da polia do virabrequim (não pelo lado do volante do motor).

Quando o ponto do comando de válvulas está sendo retardado, o rotor gira no sentido anti-horário.

Quando o ponto do comando de válvulas está sendo avançado, o rotor gira no sentido horário.

5. Válvula de Controle do Óleo (Solenoide)

1; Óleo do motor pressurizado

2; Dreno

3; Rotor VVT

4; Bobina da válvula

5. Bobina da solenoide

Conforme exibe a figura 7, a válvula de controle de óleo muda a passagem de óleo entre a tampa da correia sincronizadora e a polia sincronizadora do comando de admissão.

Quando o ECM envia o sinal à solenoide para avançar o ponto, o óleo de motor pressurizado é fornecido à câmara de avanço da polia e o óleo é drenado da câmara de retorno.

Quando o ECM atrasa o ponto, o óleo é fornecido à câmara de retorno e o óleo é drenado da câmara de avanço.

6. Acionamento do solenoide.

O solenoide é acionado pelo sinal de carga enviado do ECM.

O sinal de carga para controlar é um sinal do tipo PWM, ou seja, modulação por largura de pulso.

Esse sinal é caracterizado por ter uma frequência fixa e a mudança de posição do atuador depende do ciclo de trabalho.

Por exemplo, se o ciclo de trabalho é 100%, a corrente é aplicada à solenoide sem cessar.

Por outro lado, se a relação de carga é 0%, a corrente não é aplicada à solenoide. A figura 8 mostra um exemplo de sinal de controle tanto do VVT de admissão como o VVT de escape.

7. Relação entre o ângulo de avanço e a relação de carga

A figura 9 representa o gráfico de curva do fluxo de óleo.

Quando a relação de carga é menor do que 50 %, o tempo durante o qual o óleo é fornecido à câmara de retorno é maior do que o tempo durante o qual o óleo é fornecido à câmara de avanço.

O ponto do comando, portanto, é atrasado.

Conforme a relação de carga fica mais próxima de 0 %, a posição da bobina da válvula é mu-

de correlação entre o sensor de rotação e sensor de fase de escape.

Na entrevista consultiva foi informado que o veículo havia passado por serviços no motor devido a um superaquecimento, ou seja, tudo indicava que o motor estava fora de sincronismo. Desta forma, partimos para a captura dos sinais dos sensores de rotação e fase e compararmos com as informações presentes no manual OSCI do SIMPLO.

dada para o lado mais recuado e a quantidade de óleo que flui da câmara de retorno é aumentada ao máximo.

Por outro lado, quando a relação de carga é maior do que 50 %, o tempo de avanço se torna mais longo do que o tempo de retorno. O ponto do comando, portanto, é avançado.

Conforme a relação de carga fica mais próxima de 100 %, a posição da bobina da válvula é mudada para o lado mais avançado e a quantidade de óleo que flui para a câmara de avanço é aumentada ao máximo.

Quando a relação de carga está ao redor de 50 %, o tempo de avanço e de retorno se tornam iguais. O ponto do comando, portanto, é mantido na fase atual.

Conforme mostrado na figura

9, o fluxo de óleo se torna zero devido ao fato de a bobina da válvula fechar a passagem de óleo, conforme explicado na página anterior.

8. Caso de estudo

Para mostrar na prática a aplicação dos conceitos apresentados vamos apresentar um diagnóstico de falhas no sistema de comando variável.

SINTOMA: O Veículo Chevrolet Cruze 1.6 ano 2014 chegou na SIMCAR com o motor apagando após alguns minutos de funcionamento.

DIAGNÓSTICO: Após passar o scanner identificamos o código de falhas P0016 referente a falha

Feita a comparação das formas de onda, identificamos facilmente que o veículo estava em perfeito sincronismo virtual.

Dando continuidade ao diagnóstico verificamos o sinal de controle dos comandos variáveis de admissão e escape conforme exibe a figura 10.

Sem perda de tempo comparamos com as formas de onda de referência presentes no manual OSCI do SIMPLO, figura 11.

Constatamos facilmente que o ciclo de trabalho de controle do solenoide lado de escape estava muito maior que o preconizado pelo fabricante, indicando que a solenoide estava travada, o que estava exigindo muita energia da central de injeção.

Mudamos a posição do solenoide suspeito e o defeito seguiu o atuador, confirmamos assim que o problema estava no solenoide do VVT lado escape.

SOLUÇÃO: Realizamos a troca do solenoide do VVT e o veículo voltou a funcionar perfeitamente.

Para garantir o diagnóstico fizemos uma nova captura para comprovar sua assertividade, Confirmamos através do ciclo de trabalho, próximo de 50% para ambos os comandos, que o sistema está funcionando dentro das especificações.

Até a próxima!!!

Fevereiro 2024 • oficinabrasil.com.br
OB 36
CONSULTOR
6 7 8 9 10 11
Professor José Laerte Rabelo Nobre Filho é técnico em manutenção automotiva, consultor técnico do SIMPLO Manuais Técnicos Automotivos e sócio-proprietário da oficina L.Rabelo

O SITE OFICINA BRASIL ESTÁ DE CARA NOVA

A três décadas levando conteúdo técnico de qualidade, abrangente, e que faz a diferença na oficina.

Acesse nosso site no

QR CODE

O verdadeiro manual de instruções para o reparador!

Pressões atuantes e vazão do motor em diferentes calibrações - Parte 2

Neste estudo iremos mostrar o comportamento das pressões e vazões de ar no motor, alterando o ângulo do comando de válvulas. Com isso podemos ter a percepção do comportamento do motor em diversas condições

Com o transdutor de pressão aplicado no 4° cilindro do motor sem o efeito da combustão, ocorrendo ignição apenas nos cilindros 1,2 e 3 junto com o sensor MAF Bosch, mensuramos a pressão de compressão, admissão, escape e a vazão mássica em regimes de rotações do motor em 950 RPM, 2000 RPM, 3000 RPM, 4000 RPM, 5000 RPM. Na análise em questão coletamos dados do motor com o sincronismo do eixo comando de válvulas e virabrequim no ponto correto de acordo com os padrões da montadora General Motors. Para efeito de análises do comportamento das pressões, também foram coletados dados do motor, deslocando o eixo comando de válvulas para direita em máximo de 18° graus e para esquerda em máximo de 18° graus, ou seja, adiantando o comando e atrasando o mesmo, assim retirando o do ponto de sincronismo em relação ao virabrequim. Nos testes realizados o motor foi atrasado em 12° e 18°, e adiantado em 12° e 18°. Para todas as configurações de defasagem do comando, foi aplicado o mesmo método de teste, acelerando o motor até 5000 RPM sem interrupção. Como podemos verificar nos gráficos da figura 31, temos em vermelho o sinal do transdutor de pressão e em azul o sinal do sensor MAF. No gráfico o motor inicia em regime de marcha lenta em 950 RPM, e logo em sequência é acelerado até

5000 RPM, e conforme tabela 1, podemos verificar o aumento das pressões atuantes e vazão mássica.

Figuras 1 e 2

Pressão e vazão mássica com motor adiantado em 12° de 950 a 5000 RPM.

Foi adiantado o comando de válvulas em 12° graus, e aplicado o mesmo ensaio no motor para aquisição de dados. Observamos que a pressão máxima de compressão ocorreu em 2000 RPM, atingindo

14,91 Bar, e a vazão mássica em 5000 RPM atingiu 17,15 g/s, obtendo uma perda de vazão em relação ao motor no ponto. Notamos que a pressão de admissão, em regime de marcha lenta 950 RPM, subiu em relação ao motor no ponto de 0,374 Bar para 0,468 Bar, contendo uma carga de 46% em relação à pressão atmosférica. A pressão de escape em 5000 RPM ficou em 1,381 Bar de pressão acima da pressão atmosférica, sendo

3,45% acima da pressão escape do motor no ponto, figura 3.

Pressão e vazão mássica com motor adiantado em 18° de 950 a 5000 RPM

Foi adiantado o comando de válvulas em 18° graus, e conforme figura 34, foi verificado que a pressão de compressão máxima ocorreu no regime de rotação de 5000 RPM atingindo 12,97 Bar, logo a vazão mássica máxima em 5000 RPM atingiu 17,4 g/s. Podemos observar que a pressão de admissão em marcha lenta 950 RPM atingiu 0,418 Bar, sendo 41%

da pressão atmosférica. A pressão de escape em 5000 RPM atingiu 1,653 Bar acima da pressão atmosférica, sendo 4,1% acima da pressão escape do motor no ponto. Pressão e vazão mássica com motor atrasado em 12° de 950 a 5000 RPM

Foi atrasado o comando de válvulas em 12° graus, e conforme a figura 5, verificamos que a pressão máxima de compressão ocorreu em 3000 RPM, atingindo 15,63 Bar de pressão, e a vazão mássica atingindo 22,18 g/s em 5000 RPM. Observamos que a

CONSULTOR OB 38 Fevereiro 2024 • oficinabrasil.com.br Ilustrações: Jordan Jovino 1 2 3

pressão de admissão em regime de marcha lenta 950 RPM atingiu 0,461 Bar, sendo 46% da pressão atmosférica. A pressão de escape em 5000 RPM atingiu 0,545 Bar acima da pressão atmosférica sendo 1,36% acima da pressão escape do motor no ponto.

Pressão e vazão mássica com motor atrasado em 18° de 950 a 5000 RPM

Foi atrasado o comando de válvulas em 18°, e conforme figura 6, verificamos que a pressão máxima de compressão ocorreu em 3000 RPM atingindo 16,61 Bar, e a vazão mássica em 5000 RPM atingiu 24,44 g/s. Notamos que a pressão de admissão em regime de marcha lenta 950 RPM atingiu 0,470 Bar,

RPM atingiu 0,613 Bar acima da pressão atmosférica, sendo 1,5% acima da pressão escape do motor no ponto.

sendo 47% da pressão atmosférica. A pressão de escape em 5000 RPM atingiu 0,613 Bar acima da pressão atmosférica, sendo 1,5% acima da pressão escape do motor no ponto.

Pressão e vazão mássica com motor atrasado em 18° de 950 a 5000 RPM

Foi atrasado o comando de válvulas em 18°, e conforme figura 6, verificamos que a pressão máxima de compressão ocorreu em 3000 RPM atingindo 16,61 Bar, e a vazão mássica em 5000 RPM atingiu 24,44 g/s. Notamos que a pressão de admissão em regime de marcha lenta 950 RPM atingiu 0,470 Bar, sendo 47% da pressão atmosférica. A pressão de escape em 5000

CONCLUSÕES

De acordo com dados adquiridos, concluímos que a mudança do grau da engrenagem do sensor de rotação CKP 60-2, deslocando o dente 20 do PMS do cilindro 1 e 4 para o dente 25, não afetou as pressões e vazão mássica do motor, mas sim no avanço de ignição, alterando o disparado de ignição de 8° APMS para 27° APMS em marcha lenta. O deslocamento angular da engrenagem do sensor de rotação CKP não afeta o sincronismo mecânico do motor do eixo comando de válvulas com o eixo virabrequim, conforme a figura 8, podemos verificar que a engrenagem CKP é presa concêntrica com a engrenagem do virabrequim de

19 dentes.

Pressão de compressão

Conforme dados da pressão de compressão do gráfico da figura 9, observou-se que a pressão máxima de compressão ocorreu em 3000 RPM na melhor condição para o motor no ponto, e na pior condição para o motor adiantado em 18° graus.

Pressão de admissão

A pressão de admissão com o motor no ponto apresentou a carga mais baixa em regime de marcha

lenta de 950 RPM, com 0,374 Bar, e com carga mais alta na configuração de 12° graus adiantado com 0,468 Bar.

Pressão de escape

A pressão de escape em rotações de 5000 RPM apresentou uma pressão de 1,6 Bar de pressão para o motor adiantado em 18°. Concluímos conforme gráfico da figura 41 que com o fechamento antecipado da válvula de escape a pressão de escape é elevada em relação ao motor no ponto, em rotações de 5000 RPM.

Vazão mássica

A vazão mássica do motor em todos os regimes de operação mostrou, conforme gráfico da figura 42, que a melhor configuração para a vazão mássica do ar foi com o motor no ponto, e a pior configuração para a vazão mássica do ar foi com o motor adiantado em 18° graus.

Fevereiro 2024 • oficinabrasil.com.br CONSULTOR OB 39
“Consultor OB” é uma editoria em que as matérias são realizadas na oficina independente, sendo que os procedimentos técnicos efetuados na manutenção são de responsabilidade do profissional fonte da matéria. Nossa intenção com esta editoria é reproduzir o dia a dia destes “guerreiros” profissionais e as dificuldades que enfrentam por conta da pouca informação técnica disponível. Caso queira participar desta matéria, entre em contato conosco: redacao@oficinabrasil.com.br
4 5 6 7 8 9 10 11

Como acompanhar o percentual entre peças e serviços na oficina?

Sabe por que acompanhar o percentual entre peças e serviços na sua oficina é muito importante? Porque 70% do faturamento de sua oficina vem das peças e por isso que estamos retomando este assunto pela terceira vez!

Você, que é dono da oficina, precisa entender de uma vez por todas que a movimentação de peças que sua oficina compra e vende todos os meses tem um “peso” muito forte no equilíbrio da sua oficina.

Não podemos ignorar que este número (indicador) é importante para o pagamento das despesas no final do mês.

Todos sabemos que uma oficina não consegue pagar suas despesas do mês vendendo somente serviços, porém sabemos também que quando mal acompanhada, esta movimentação de peças pode fazer a empresa perder todo o controle financeiro.

Preciso repetir este número para reforçar o tamanho da nossa responsabilidade.

Como acompanhar o percentual entre peças e serviços?

Faça um levantamento simples pegando tudo o que sua oficina vendeu no mês e

em seguida separe o que foi vendido de peças e o que foi vendido de serviços. Pode ter certeza de que, na média do Brasil, o número referente a peças vai dar próximo de 70%, ou seja, estamos obrigados a controlar e acompanhar mais de perto.

Com esta explicação acre -

dito que fica mais fácil de acompanharmos o que vendemos de peças e serviços todos os dias, e se estamos atingindo nossa meta de vendas diárias.

O proprietário da oficina precisa receber em sua mesa, todos os dias, um relatório com as vendas do dia ante -

rior, referente aos veículos entregues. Este relatório deve mostrar quanto foi vendido de serviços e quanto foi vendido de peças e neste caso o mesmo relatório deve mostrar a diferença da compra e da venda das peças.

Este relatório vai possibilitar ao proprietário da oficina

analisar diariamente como estão as vendas e se elas estão dentro da meta estipulada pela oficina para cobrir as despesas do dia e verificar se ainda vai sobrar. É esta “sobra” que vai, no dia a dia, trazer o equilíbrio para a oficina.

A PARTIR DE HOJE MÃOS À OBRA.

Acompanhe toda a movimentação de compra e venda de peças. Este é um indicador fundamental, entre outros, para garantirmos o equilíbrio financeiro da oficina. E lembre-se de que todos os três últimos textos estão usando como referência somente o cálculo das despesas totais de sua oficina. Ainda vamos implementar nestes cálculos os indicadores de custo fixo e variável.

OFICINA É UM BOM NEGÓCIO 40 Fevereiro 2024 • oficinabrasil.com.br

Confira as ofertas de peças e equipamentos!

42 Fevereiro 2024 oficinabrasil.com.br

Entre em contato com uma de nossas lojas e conheça todas as nossas linhas de motores, suspensão, freios e câmbio.

Faça revisões em seu carro regularmente, respeite a sinalização de trânsito.

Ganhadores do Prêmio Maiores e Melhores 2023

www. motorsimports .com.br

44 Fevereiro 2024 oficinabrasil.com.br
MAIOR DISTRIBUIDOR DE AUTOPEÇAS PARA VEÍCULOS IMPORTADOS
meramente ilustrativas
TEM NOVIDADES NA MOTORS IMPORTS! TEM NOVIDADES NA MOTORS IMPORTS!
imagens
ITAJAÍ-SC (47)3404-5885 SÃO JOSÉ-SC (48) 3249-4000 CURITIBA-PR (41) 3028-3333 PORTO ALEGRE-RS (51) 3368-3300 SÃO PAULO-SP (11) 3738-3738 CAMPINAS-SP (19) 3772-3150 RIO DE JANEIRO-RJ (21) 3037-1237 BRASÍLIA-DF (61) 3048-6600
Lançamento
37041 - BANDEJA CITROEN JUMPY 17... (DIANT. INF.)
Lançamento
37492 - BRONZINA BIELA FORD RANGER 2.2 12...
Lançamento
36572 - BRAÇO BMW X1 (F48) 16... (INF. TRAS.)
Lançamento
37485 - TAMBOR FREIO RENAULT KWID 1.0 17...
Lançamento
36553 / 36552 - BRAÇO AUDI Q5 SQ5 TFSI 18... (DIANT. INF. LD/LE)
45 Fevereiro 2024 oficinabrasil.com.br

O maior portal de

PASSO A PASSO TÉCNICO DO PAÍS

O novo espaço é especialmente projetado para oferecer a melhor experiencia para você, reparador!

Tire suas

Dúvidas Técnicas

Troca de Experiências com colegas de profissão

Mantenha-se informado das novidades técnicas e tecnológicas

BAIXE AGORA

Whatsapp (11) 2764-2881
FÓRUM
BAIXE NO NÃO PERCA TEMPO!

O primeiro teste a ser realizado no diagnóstico do motor e sistema elétrico

Veremos nesta aula como funciona uma ferramenta muito simples, rápida de ser utilizada, e útil em nosso dia a dia da reparação automotiva, no qual um diagnóstico incorreto pode acarretar grande prejuízo!

Oteste no sistema elétrico e de alimentação deve ser obrigatórios nas inspeções básicas e manutenções preventivas ou até mesmo corretivas nas oficinas mecânicas e autoelétricas brasileiras. São tantos os sistemas elétricos e eletrônicos que a base deve ser sustentada, ou seja, as grandezas elétricas de tensão e corrente são fundamentais.

O TESTE DE BATERIA É O PRIMEIRO A SER FEITO APÓS A ENTREVISTA

COM O CLIENTE

Essas são algumas das funções iniciais que um equipamento de teste de bateria deve executar para que a oficina tenha a segurança, até mesmo em relatórios impressos, para vender valor ao seu cliente.

Exemplo de funções:

Avalia condição da carga de baterias de veículos cuja tensão é de 12V ou 24V.

Aplica-se às tecnologias: VRLA, GEL, AGM, STANDARD LSI.

Executa Teste de Motor de Partida, Teste de Carga Máxima (Teste de Alternador) e Teste de Sistema de Carga.

Impressão de relatório de teste.

Executa 2 tipos de testes: Teste Rápido (validação de amperagem) e Teste Preciso (validação de corrente de partida, especificada no rótulo da bateria).

Tensão de baterias aplicáveis: 12 ou 24V.

Tecnologias aplicáveis: VRLA, GEL, AGM, STANDARD LSI.

Se a bateria ou sistema de recarga estiver com falha, os sistemas eletrônicos podem apresentar falhas também.

Se a tensão de trabalho estiver abaixo do nominal em 20%, ou seja, um sistema de 12 volts, menos 20% (12.00 – 2.40 = 9.60 V) para proteção dos sistemas eletrônicos, teremos o desligamento total ou parcial de módulos eletrônicos.

Mas se fosse apenas isso, a falha estaria evidente e clara, até mesmo com a inspeção com scanners automotivos, o problema é quando a falha de tensão e/ou corrente, apresenta falhas intermitentes ou falhas não identificadas via códigos de falhas.

COMENTÁRIOS DE REPARADOR PARA

REPARADOR

Avaliar a bateria, primeiro a sua correta aplicação, depois a tensão nominal e condições de funcionamento, sistema de recarga, alternador, com ou sem carga de trabalho, são funções e testes fundamentais, afinal de contas, sem uma boa alimentação elétrica os sistemas eletrônicos vão apresentar problemas, mais cedo ou mais tarde. Outra dica muito importante é saber testar e identificar as diferentes grandezas como tensão e corrente elétrica. E por fim, ter bons e confiáveis equipamentos de testes que visam facilitar o nosso dia a dia e criar procedimentos de testes para minimizar erros e improdutividade na oficina.

É mais tecnologia nos motores e maior a necessidade de conhecimento técnico. Pensem nisto.

Abraços e até a próxima edição com mais dicas sobre tecnologia em motores modernos.

Professor Scopino scopino@automecanicascopino.com.br Professor Scopino, Mecânico de Autos Profissional e Embaixador da marca Pierburg no Brasil
Fevereiro 2024 • oficinabrasil.com.br TÉCNICA 47
TODOS OS CONTEÚDOS ESCRITOS POR COLABORADORES PUBLICADOS EM NOSSO VEÍCULO SÃO DE INTEIRA E TOTAL RESPONSABILIDADE DOS AUTORES QUE OS ASSINAM.

Como o monitor da válvula termostática

redefine a eficiência do arrefecimento

O monitoramento inteligente de temperatura redefine a eficiência do arrefecimento automotivo. Da válvula termostática ao controle de combustível em malha fechada, mergulhe nas inovações que moldam o futuro da performance dos motores

Aimportância deste monitor reside no fato que outros sistemas e monitores (monitor EGR, por exemplo) são habilitados ou ativados somente depois que o motor atinge a temperatura normal de funcionamento. Já a estratégia do monitor de arrefecimento consiste na comparação da temperatura real (medida) de funcionamento com a temperatura calculada (modelo) de aquecimento do motor, baseada na temperatura ambiente, condição de funcionamento e tempo de condução do veículo.

Para fins de monitoramento o principal dispositivo é o sensor de temperatura do líquido arrefecedor (ECT) ou o sensor de temperatura do cabeçote de cilindros (CHT). Portanto, é de fundamental importância a verificação da plausibilidade (confiabilidade) das medições realizadas. Para isto, o monitor compara a informação do sensor de temperatura ECT/CHT com as informações dos sensores de temperatura do óleo ou de temperatura do combustível.

CONFIGURAÇÕES

A figura 1 apresenta a configuração simplificada do sistema de arrefecimento. Os componentes verificados pelo monitor são a válvula termostática e o sensor através do qual é medida a temperatura do motor.

Esta temperatura pode ser

medida indiretamente, pelo sensor de temperatura do líquido arrefecedor (ECT), ou diretamente, pelo sensor de temperatura do cabeçote de cilindros (CHT). No caso de estar presente só o sensor CHT, o monitor consegue estimar a temperatura do líquido de arrefecimento e com isto verificar o funcionamento da válvula termostática.

A válvula termostática é o dispositivo que permite direcionar o fluxo do líquido de arrefecimento, dependendo da temperatura do motor. Na medida em que o motor não tenha atingido a temperatura de funcionamento adequada, o líquido é direcionado para recircular pelo motor sem passar pelo radiador. Esta característica permite ao sistema de

arrefecimento cumprir as seguintes funções:

- Encurtar o período de aquecimento do motor.

- Manter a temperatura constante de operação.

Cabe salientar que a regulação da temperatura no nível adequado é importante para a potência desenvolvida pelo motor, o consumo e a diminuição das emissões.

O circuito de arrefecimento é fechado e o líquido, submetido a uma pressão entre 1.0 e 1,5 bar. Com isto, a ebulição da água começa com temperaturas entre 115OC e 130OC e não a 100OC. O aditivo contribui também para o aumento da temperatura de ebulição. Para complementar esta funcionalidade, o sistema fecha-

do possui um reservatório de expansão.

VÁLVULA TERMOSTÁTICA

Pode ser de acionamento mecânico (válvula convencional) ou de acionamento eletromecânico (figura 2). A diferença desta última, com relação à válvula convencional, é a presença do resistor de aquecimento controlado pela UC.

Enquanto o resistor de aquecimento não for alimentado, a válvula se comporta como uma válvula de acionamento mecânico, ou seja, o líquido, em contato com o corpo, aquece o elastômero que se expande e abre a válvula. A temperatura de abertura é um valor de calibração fixo.

Por sua vez, através da ativação do resistor de aquecimento, a UC pode modificar a temperatura de abertura da válvula (temperatura de regulação) em função da faixa de operação do motor e de mapas armazenados na memória. Assim, estes sistemas podem ser identificados na literatura como “sistema de arrefecimento mapeado” ou “válvula termostática mapeada”.

Desta forma, a UC regula a temperatura em função da carga do motor. Em carga parcial, em torno de 100OC a110OC e em plena carga, em torno de 85OC a 95OC.

- Temperatura mais alta em carga parcial melhora o de-

sempenho resultante da combustão mais eficiente; isto contribui para reduzir as emissões e o consumo.

- Temperatura mais baixa em plena carga contribui para o aumento de potência. O ar induzido no cilindro é aquecido a uma temperatura menor, o que contribui para a melhora do desempenho, reduzindo a tendência à detonação, o que permite o ajuste do avanço próximo do ideal.

Monitoramento da Válvula Termostática durante a Fase de Aquecimento

A função deste monitoramento é:

- Verificar que a temperatura do líquido arrefecedor atinja o valor necessário ao funcionamento de outros monitores.

- Verificar que a temperatura do líquido arrefecedor atinja um valor dentro da faixa de 10OC da temperatura definida pelo fabricante como temperatura nominal de regulação da válvula termostática.

O monitoramento é realizado durante a fase de aquecimento, período no qual o monitor verifica que a temperatura do motor atinja um mínimo de, por exemplo, 75oC ou 80oC, num determinado período de funcionamento.

Na maior parte das aplicações, o limite mínimo de temperatura a ser atingido é 10oC inferior à temperatura normal de operação do motor.

Quando o motor é operado de modo a gerar suficiente calor, a temperatura do líquido arrefecedor deve aumentar de forma previsível.

No monitor, um temporizador é incrementado, a partir do momento em que o motor é ligado, toda vez que o veículo é submetido a uma carga moderada e

TÉCNICA
Fevereiro 2024 • oficinabrasil.com.br
48

a sua velocidade for superior a um valor mínimo de calibração. Quando o temporizador atinge um valor limite, a temperatura real do motor é comparada com aquela temperatura mínima mencionada acima. O temporizador é incrementado sob condições especificas de carga do motor, velocidade do veículo e temperatura ambiente no momento da partida.

O valor limite do temporizador depende da temperatura ambiente no momento da partida. Geralmente, o valor limite está entre 300 e 800 segundos.

O monitor é executado uma vez a cada ciclo de condução e é necessário que o motor tenha permanecido sem funcionar por um período de 2 horas. Isto, para apagar de modo correto um possível DTC gravado.

Desta forma, evita-se uma falsa confirmação de funcionamento correto quando a temperatura do líquido arrefecedor aumenta depois que o motor é desligado por um curto período.

CICLO DE CONDUÇÃO

Identifica o intervalo de funcionamento em que é dada a partida com o motor "frio", e na sequência, o veículo é conduzido até atingir a temperatura normal de funcionamento. O próximo ciclo de condução só começará após o motor ser desligado, atin-

gir novamente o estado de "motor frio" e na sequência ser ligado.

A figura 3 apresenta o gráfico de evolução da temperatura no tempo, da curva teórica (típica ou "calculada") e a medida.

- A curva típica, calculada ou nominal representa a evolução prevista para o correto funcionamento. Para o cálculo o monitor tem como base: a rotação do motor (RPM), a carga ou torque a que é submetido o motor e a temperatura ambiente.

- A curva medida representa a evolução da temperatura informada pelo sensor de temperatura (ECT).

No instante de verificação, no momento em que o temporizador atinge o valor limite para aquelas condições de funcionamento (próximo dos 800 segundos, no caso do exemplo), a UC compara o valor atingido [1] com o teórico ou calculado [2]. Se a diferença for superior a 10oC o DTC correspondente é gravado na memória como “pendente”. No segundo ciclo consecutivo, o código é gravado como “confirmado” e a LIM/MIL é acesa. Lembrar que o valor limite do temporizador depende da temperatura ambiente no momento da partida.

A partir de 2015 e para veículos pesados, a regulamentação OBDII requer a ampliação do monitoramento da válvula termostática, com a adição do monitoramento contínuo ao monitoramento durante a fase de aquecimento, como apresentado no item anterior.

Aos requerimentos apresentados no item anterior, o monitoramento contínuo da temperatura do líquido arrefecedor acrescenta:

- Verificar que, após uma eventual queda abaixo da temperatura limite de falha, a temperatura volte ao normal após um determinado período.

A figura 4 mostra o gráfico com as curvas de temperatura (calculada e medida) em função do tempo. O monitoramento consta de 2 fases:

- Fase A. É o monitoramento durante o aquecimento do motor. A temperatura calculada ou nominal é utilizada para estimar quando o motor deverá estar totalmente aquecido à temperatura de regulação (ponto 1). Após um intervalo de tempo (ponto 2) de 3 seg., com a temperatura calculada por cima da de regulação, o monitor verifica que a temperatura medida seja superior à temperatura limite de falha. Caso contrário, o código de falha correspondente é gravado como “pendente”. Após o

segundo ciclo de condução consecutivo com a falha presente, o código é gravado como “confirmado” e a LIM/MIL é acesa.

- Fase B. É a fase de monitoramento contínuo, que começa após o teste de aquecimento ser completado e a temperatura informada pelo sensor ECT superou o limite de falha. Se, durante o monitoramento contínuo, a temperatura medida cai abaixo da temperatura limite de falha (ponto 3), a temperatura calculada ou modelo é reinicializada, com o que o monitoramento da fase de aquecimento é novamente, executado. No instante em que a curva modelo ou calculada supera a temperatura de regulação (ponto 4) e permanece nessa situação por 3 seg. (ponto 5), o monitor verifica que a temperatura medida seja superior à temperatura limite de falha. Caso contrário, o código de falha correspondente é gravado como “pendente”. Após o segundo ciclo de condução consecutivo com a falha presente, o código é gravado como “confirmado” e a LIM/MIL é acesa.

MONITORAMENTO DO TEMPO PARA CONTROLE DE COMBUSTÍVEL EM MALHA FECHADA

Esta função do monitor é utilizada principalmente no motor de ciclo Otto. Os fatores

determinantes para a entrada no controle de combustível em malha fechada são: 1) carga do motor e 2) temperatura do líquido de arrefecimento. Esta funcionalidade foi adicionada à norma OBDII com o objetivo de assegurar que o sistema de controle de combustível funcionasse em malha fechada, após intervalo de tempo especificado após a partida. Para a temperatura calculada é utilizado o mesmo modelo que aquele do monitoramento da válvula termostática, com a única diferença no valor da temperatura de regulação:

- No monitoramento da válvula termostática, o valor está em torno de 95OC.

- No monitoramento do tempo para funcionamento em malha fechada, o valor está em torno de 40OC.

A figura 5 apresenta o gráfico com as curvas de temperatura calculada e de temperatura medida pelo sensor de temperatura do líquido de arrefecimento (ECT), para o caso em que há detecção de falha. A temperatura limite para malha fechada (t1) é de 40OC. Já, a temperatura limite de falha (t2) está em torno de 30OC.

No caso do exemplo, a verificação da temperatura se dá 3 seg. após a temperatura calculada atingir a temperatura limite para funcionamento em malha fechada. Neste caso, a temperatura medida resulta menor que a temperatura limite de falha, pelo que o código correspondente será gravado como “pendente”. Após o segundo ciclo de condução consecutivo com a falha presente, o código é gravado como “confirmado” e a LIM/ MIL é acessa.

Fevereiro 2024 • oficinabrasil.com.br TÉCNICA 49
MONITORAMENTO CONTÍNUO DA VÁLVULA TERMOSTÁTICA

Entenda o processo de condensação da água que escorre pelo ar-condicionado do carro Parte-2

Durante o verão é natural que as pessoas ativem o ar-condicionado dos carros para manter a temperatura confortável na cabine, fazendo pingar água e até forma uma poça d’água quando está parado na garagem

Continuando a matéria sobre a quantidade de água eliminada pelo ar-condicionado do carro e a atuação dos componentes.

Na condição de carga de fluido refrigerante abaixo do especificado, qualquer umidade do ar começa a congelar na superfície do evaporador e se isto continuar, toda a superfície do evaporador se tornará gelo sólido, restringindo quase completamente o fluxo de ar. Além disso, se o dreno estiver entupido, o nível da água aumentará na caixa do evaporador e o contato prolongado com as aletas do evaporador fará com que a água congele.

Se o sistema tiver uma válvula de expansão controlada termostaticamente, a válvula detectará a queda de temperatura para 0º Celsius e interromperá o fluxo de fluido refrigerante no evaporador. Sem fluxo do fluido refrigerante, o gelo do evaporador começará a derreter. Uma vez derretida, a válvula de expansão vai permitir o fluxo do fluido refrigerante, restabelecendo o funcionamento adequado do ar-condicionado.

Se o filtro do ar para cabine estiver entupido a ponto de reduzir o fluxo de ar, o baixo fluxo permanece por muito tempo em contato com o evaporador

e transfere muito de seu calor para o refrigerante, causando novamente o superaquecimento do refrigerante, resultando no congelamento do evaporador.

A quantidade de água gerada quando o sistema de ar-condicionado estiver ligado depende de uma série de variáveis, portanto não há uma regra ou tabela para especificar esta quantidade de água.

Apenas para se ter uma ideia, em sistema de ar-condicionado residencial de potência média, se ligado por várias horas, pode produzir até 20 litros de água por dia, considerando as variáveis. Estruturas maio -

res, como prédios e shoppings, podem chegar na base das centenas e até milhares de litros de água condensada e descartada. Nos veículos, a quantidade pode iniciar com alguns mililitros e atingir 500ml por hora, dependendo do tipo de veículo, das condições climáticas e das demais variáveis que já abordamos.

Considerando a frota brasileira de carros de passeio (38.338.829, ano 2022), que apenas 1/3 esteja utilizando ar-condicionado e gerando a condensação de 250ml de água por hora, teremos (12.779.610 veículos x 0,25l/h = 3.194.902,5

litros de água por hora).

Uma piscina olímpica tem 1.890.000 litros de água, com 50 metros de comprimento e 22,8 metros de largura, com profundidades variáveis.

Considerando a capacidade de 5 litros de água no sistema de arrefecimento de um veículo, os 3.194.902,5 litros de água condensada por hora dariam para abastecer o radiador de 638.980,5 veículos.

Para contribuir com este raciocínio, a quantidade de vapor de água no ar depende da temperatura e da umidade relativa. Através de uma tabela e considerando a temperatura de 30°C, a máxima quantidade de vapor de água no ar (isto é, quando a umidade relativa é 100%) é cer-

ca de 30,4 g por metro cúbico de ar. Na tabela temos muitas variáveis que podem ser observadas de acordo com as temperaturas. (Fig.10)

A umidade relativa do ar varia de acordo com as estações do ano e também depende de cada região do país, ficando entre zero e 100% de umidade, como exemplo veja o gráfico de São Paulo. (Fig.11 e 12)

Alguns sistemas de climatização são equipados com o sensor de umidade, que funciona em combinação com outros sensores que monitoram a cabine do veículo.

Este sistema de sensores é utilizado para reduzir o embaçamento dos vidros e aumenta o conforto controlando os ní-

Fotos e ilustrações: Gaspar Fevereiro 2024 • oficinabrasil.com.br TÉCNICA 50 10 11 12

veis de umidade no interior do veículo.

A partir dos dados fornecidos pelo sensor de umidade e temperatura instalado na base do espelho interno, a unidade de controle climático calcula a temperatura do ponto de orvalho do ar, ou seja, a temperatura à qual a umidade do ar se condensaria e causaria embaçamento.

Um sensor infravermelho mede remotamente o calor irradiado no para-brisa e calcula a temperatura da janela. Para evitar o embaçamento dos vidros, o sistema automático de ar-condicionado controla a umidade do ar.

O desembaçador de carro tem a função de remover as gotas de água que condensam e grudam nos vidros dianteiro, traseiro e lateral do um carro, permitindo uma melhoria na visibilidade e segurança para viajar. (Fig.13)

O fenômeno de nebulização ou embaçamento geralmente ocorre durante a época de chuvas, quando o nível de umidade do ar está mais elevado. Em regiões frias, a água pode até congelar na superfície da janela e bloquear a visão do motoris-

ta. Isso pode facilmente causar um acidente fatal se acontecer durante uma viagem em uma rodovia ou em uma rota montanhosa perigosa.

Existem dois tipos principais de desembaçador no carro: Primário; e Secundário.

O desembaçador primário é utilizado no para-brisa dianteiro e nos vidros laterais, enquanto o secundário funciona no vidro da parte traseira do carro. A razão para os diferentes tipos de desembaçadores são principalmente as posições funcionais.

O desembaçador primário utiliza o sistema de ar-condicionado para remover a umidade do ar dentro da cabine, eliminando rapidamente a formação de névoa ou embaçamento nas áreas envidraçadas. (Fig.14)

e controlar um ambiente em termos de temperatura e umidade, o que acontece automaticamente sem intervenção manual. O sistema é composto por um ou vários sensores de temperatura e umidade, dependendo de cada uma de suas finalidades, para monitorar o ambiente.

O ar quente também consegue eliminar o embaçamento dos vidros, mas não é muito eficiente porque ele faz evaporar as gotículas de água e a umidade continua dentro da cabine, retornando a embaçar assim que a temperatura diminuir. (Fig.15)

Enquanto o desembaçador frontal e lateral tem suporte do sistema de climatização, o desembaçador secundário é um sistema de aquecimento elétrico na forma de uma série de linhas elétricas resistivas. Quando ligado pelo interruptor, a corrente elétrica percorrerá o sistema, gerando calor para os vidros traseiros e vaporizando assim qualquer água congelada ou condensada na superfície dos vidros. (Fig.16)

A climatização automática tem a capacidade de monitorar

As informações adquiridas serão então enviadas para um sistema de controle de climatização, para processar remotamente e mantê-las em valores específicos. Isso elimina a necessidade de esforço humano para regular a área alternando o ar frio e o aquecedor.

No processo de controle da climatização automática, sensores são colocados em vários locais de uma cabine. Cada sensor fornecerá informações sobre a área em que está configurado. Todos os dados irão para o módulo de controle, exibidos em uma plataforma de visualização e depois comparados com as configurações do usuário para realizar uma ação com base nos dados adquiridos. Esta ação pode variar desde ajustar a velocidade do ventilador, regular a distribuição da ventilação de ar. (Fig.17 e 18)

O ponto de orvalho é a temperatura à qual o ar deve

ser resfriado (a uma pressão constante) para que o vapor de água se condense em orvalho ou gelo. Qualquer condição de temperatura tem sua própria quantidade máxima de vapor d'água que pode reter, que é chamada de pressão de saturação de vapor d'água. Adicionar mais vapor de água do que o ponto de saturação causará condensação.

No gráfico está o conceito de ponto de orvalho e ponto de congelamento do vapor d'água, sendo que o ponto de orvalho mais alto significa mais umidade no ar, portanto, o ponto de orvalho mais alto é considerado úmido e não confortável para atividades gerais. Para um nível geral de conforto, o ponto de orvalho deve estar em torno de 55ºC, entre 55 e 65ºC, o ambiente fica pegajoso e acima que 65ºC, o ambiente é mais pesado devido ao excesso de umidade do ar. (Fig.19)

Fevereiro 2024 • oficinabrasil.com.br TÉCNICA 51 13 14 15 16 17 18 19

Diagnóstico e Manutenção avançada em DCUs –

Bombas de ARLA – Parte 3

Após uma longa cultura de eliminação do sistema SCR de pós-tratamento, a reparação das unidades de bombeamento está novamente representando uma boa parcela do faturamento de muitas oficinas!

Osistema de pós-tratamento SCR possui uma dificuldade bem particular na reparação – a geração de falhas no sistema informadas pelos módulos eletrônicos é muito genérica. Quando temos uma falha no sistema, em geral ela será identificada como “falta de eficiência catalítica no sistema SCR”, ou, “falha no sistema de pós-tratamento”. Portanto, quando temos a luz acesa no painel e uma falha no scanner, a causa real pode estar em qualquer elemento do sistema. Não conseguimos pela falha ou sintoma condenar nenhum dos componentes de imediato. Porém, uma causa recorrente de problema é a unidade de bombeamento, conhecida como DCU (Dosing Control Unit) ou simplesmente a Bomba de ARLA. Quando eliminamos causas periféricas e chegamos à conclusão de que a falha do sistema está na DCU, encontramos para cada sistema algumas falhas recorrentes. Vamos analisar nesta matéria um desses sistemas, bem como algumas dicas de manutenção –o sistema DENOXTRONIC 2.1.

IMAGEM 1

SISTEMA DENOXTRONIC 2.1

O sistema Denoxtronic 2.1 é encontrado em várias linhas muito usadas em nosso país, sendo as principais aplicações

os caminhões da linha Volvo, IVECO e veículos CNH (Case e New Holand). Este sistema é uma evolução e simplificação do sistema Denoxtronic 1.1, considerado na parte 2 dessa série de artigos. Podemos afirmar isso pois além de uma diminuição no seu tamanho físico e quantidade de componentes, o sistema 2.1 não usa ar comprimido em seu trabalho e sim apenas ARLA. Portanto, os elementos pneumáticos foram descontinuados nesse sistema, restando apenas elementos hidráulicos.

No veículo, este sistema pode estar localizado na parte interna ou externa do chassi.

IMAGEM 2 / IMAGEM 3

As principais conexões externas são:

1. INLET, entrada do reagente vinda do reservatório;

2. OUTLET, saída do reagente pós-filtragem para o dosador externo;

3. Conexão para aquecedor (não utilizada);

4. Conexão para aquecedor (não utilizada).

ATENÇÃO NA DESMONTAGEM DO CONJUNTO INTERNO

Neste sistema os elementos internos são bem compactos, ou seja, todos estão acoplados e interligados, resultando em um único conjunto que deve ser desmontado e removido da carcaça metálica da bomba de uma única vez, por inteiro. Como as principais falhas nos sistemas de bom-

beamento no geral estão relacionadas a entupimentos e obstruções por ARLA cristalizado, a desmontagem dos elementos de bombeamento, camadas e membranas para a limpeza é essencial. Portanto, no sistema Denoxtronic 2.1 devemos dar atenção e uma interligação entre a câmara do filtro do ARLA e o conjunto de bombeamento para a correta desmontagem. Não é possível desmontar apenas um ou o outro separadamente devido a essa interligação. Um pequeno duto plástico interliga esses dois elementos e se não dermos atenção a isso podemos danificar esse duto ao tentar desmontar os elementos separadamente. IMAGEM 4 / IMAGEM 5

Após a remoção dos parafusos de fixação do filtro e unidade de bombeamento, pode-se remover o conjunto completo da carcaça metálica.

Fevereiro 2024 • oficinabrasil.com.br TÉCNICA 52
André Miura andremiura@chiptronic.com.br
1 2
5
Fotos: André Miura
3 4

BOMBA DE DIAFRAGMA E ELETROVÁLVULA DIRECIONADORA

Os principais problemas desse sistema, sem dúvida, estão na bomba e na eletroválvula direcionadora. Estes dois elementos estão acoplados ao mesmo conjunto. Diferente do sistema anterior (Denoxtronic 1.1) que possui uma eletroválvula de drenagem e purga, o sistema Denoxtronic 2.1 possui uma eletroválvula direcionadora de fluxo, ou seja, ela apenas inverte a direção do reagente líquido. No momento da geração de pressão e injeção de reagente ela está desativada, permitindo

a bomba de diafragma quanto a eletroválvula direcionadora devem ser desmontadas para limpeza e análise. IMAGEM 8

um fluxo do reservatório de ARLA para a filtragem e saída para o dosador. Mas no momento de purga ela inverte o fluxo, sendo agora do compartimento de filtragem de volta para o reservatório de ARLA. IMAGEM 6 / IMAGEM 7

Assim como demais sistemas, a parte interna da unidade de bombeamento possui várias camadas e membranas, que devem ser corretamente desmontadas e limpas, eliminando assim qualquer resquício de ARLA cristalizado. Também, devemos analisar a integridade das membranas que devem substituídas em caso de rasgos, trincas ou deformidades. Tanto

Após a manutenção bem-sucedida e correta montagem do conjunto novamente na carcaça, devemos validar o trabalho submetendo a bomba a uma simulação completa em bancada, usando uma ferramenta de funções especiais. Essa ferramenta possibilita uma atuação de cada elemento interno da bomba, peça a peça e monitoramento das grandezas elétricas e físicas (tensão, rpm e pressão em bar). Além disso, é importante realizar um teste de dosagem em bancada para verificar se, durante o tempo estipulado de prova, a unidade de bombeamento injetou a quantidade correta de reagente em ml. IMAGEM 9

Nessa matéria consideramos algumas dicas de manutenção nesse sistema, mas ainda há várias outras informações importantes para uma manutenção completa. Portanto, busque uma capacitação nessa área, que pode levar sua oficina para a linha de frente da manutenção em sistemas de pós-tratamento SCR!

Fevereiro 2024 • oficinabrasil.com.br TÉCNICA 53 INFORME PUBLICITÁRIO
TODOS OS CONTEÚDOS ESCRITOS POR COLABORADORES PUBLICADOS EM NOSSO JORNAL SÃO DE INTEIRA E TOTAL RESPONSABILIDADE DOS AUTORES QUE OS ASSINAM.
6 7 8 9
André Miura é Diretor e proprietário da Chiptronic Tecnologia Automotiva

OFórum do Jornal Oficina Brasil se consagra entre os reparadores como o maior sistema de troca de informações entre profissionais do país! São mais de 130 mil profissionais cadastrados debatendo, dando dicas e sugestões para resolver os problemas mais complicados. Participe você também! Para tanto, basta cadastrar-se em nosso site. Um dia você ajuda um colega e no outro é ajudado! Confira abaixo os casos que mais se destacaram neste mês.

Ford Ecosport Titanium 2013 perdendo potência

Sintoma: O Suv Compacto da Ford foi encaminhado à oficina vindo de outra mecânica, onde após a troca da embreagem, passou a perder aceleração e não passar de 2.000 rpm.

Diagnóstico: O reparador, ao receber o veículo, tinha consciência que não seria uma tarefa simples como o mesmo já vinha de outra oficina teria que revisar tudo o que já haviam feito, bem como iniciar seu diagnóstico do zero, pois caso contrário poderia ser perder durante o processo.

Por isso o primeiro passo foi informar ao cliente que precisaria de um tempo maior para fazer uma boa análise, o que o proprietário aceitou prontamente. O segundo passo foi criar um check list com todos os testes que deveria realizar a fim de encontrar a causa do problema.

E assim o fez, levando em consideração em sua escolha os testes mais simples e mais rápidos a serem realizados e seguindo com os mais complexos, o que facilitaria de forma significativa toda a dinâmica do diagnóstico.

O primeiro sistema a ser testado seria de alimentação elétrica do veículo, especificamente a bateria e aterramentos. Durante a entrevista consultiva o proprietário havia informado que tinha trocado a bateria, mas mesmo diante dessa informação o técnico optou por conferir o estado de carga da bateria bem como sua corrente de partida a frio, confirmando que ambos os parâmetros estavam dentro das especificações.

O próximo teste foi a verifica-

ção do aterramento tanto do motor como do módulo de controle do motor, após o teste evidenciou que estavam todos em bom estado.

Dando sequência as análises presentes em seu check list, observou que deveria testar os sensores de posição do pedal do acelerador e do corpo de borboleta com multímetro scanner e osciloscópio, confirmando que já haviam sido substituídos e os que estavam no veículo eram novos e originais.

O técnico, não satisfeito com o resultado dos testes, removeu o corpo de borboleta e o analisou na bancada evidenciando que estava em perfeito estado.

O próximo item em seu plano de ação era a verificação de todo o chicote, alimentação e pinagem do módulo de controle do motor, após todos os testes atestou que todos estavam em ótimo estado.

Seguindo rigorosamente seu planejamento, viu que após o teste do chicote seria o momento de realizar o reset dos parâmetros autoadaptativos do módulo do motor via scanner e, assim o fez, porém, sem sucesso, o veículo continuava com a mesma falha.

O próximo passo seria enviar o módulo de controle do motor para um especialista a fim de

identificar possíveis problemas internos neste. Enviou o módulo e em pouco tempo recebeu o retorno do especialista informando que não havia nenhuma irregularidade no funcionamento do módulo.

Solução: Depois dessa verdadeira maratona de testes o reparador decidiu dar um tempo nas verificações para descansar a mente e clarear as ideias.

Após poucos dias voltou para reiniciar a “saga” para desvendar esse mistério.

Jetta TSI apresenta falha de sobrealimentação.

Sintoma: O veiculo chegou à oficina com a reclamação de esporadicamente acender as luzes e EPC e Injeção no painel, o veículo perde força, mas quando desligado e ligado novamente, retorna a funcionar sem problemas..

tem grande chance de funcionar. Entretanto, se mesmo assim não entrar em funcionamento pode ser o módulo de controle do motor.

Com uma boa fonte de iluminação fez uma nova varredura nos pontos de aterramento na região do motor e constatou que na lataria do cofre do motor próximo ao farol do lado do passageiro, havia marca de pintura recente e nesse mesmo local havia um cabo de aterramento, o qual já havia testado e tinha aterramento, resolveu soltar o parafuso do cabo e para sua surpresa tanto a lataria quanto o parafuso estavam pintados e com uma tinta da mesma cor do carro, removeu a tinta do cabo e do parafuso, o parafuso só não tinha tinta na ponta, fez uma boa limpeza, remontou e para sua alegria e satisfação ao ligar o carro o defeito sumiu definitivamente.

Diagnóstico: O reparador acessou a unidade de controle do motor via Scanner, e verificou dois Códigos de falhas DTCs gravados na memória de falhas da unidade de controle, ambas relacionadas a sobrealimentação do motor.

Dando sequência aos testes, o profissional verificou possíveis vazamentos na admissão do veículo, e não detectou nenhum, desconfiado do conjunto eletrônico que comanda a válvula Wastegate.

Um colega sugeriu que o reparador verificasse a alimentação e aterramento da central e relé.

Salientou também que fizesse uma ligação direta para confirmar se o veículo entrava em funcionamento, já que a luz do sistema imobilizador apaga e

Informou também que havia substituído o relé, sensor de rotação, fiação, alimentação da unidade de controle do motor, conector da base do relé e confirmando a continuidade do chicote, ou seja, garantiu que todos os componentes estivessem em perfeito funcionamento.

Após o esclarecimento o colega do fórum sugeriu que a unidade de controle do motor fosse enviada para testes. Assim, o reparador enviou a unidade de comando do motor para o especialista realizar uma análise de seu funcionamento.

Solução: Ao receber o laudo do técnico que inspecionou a unidade de controle do motor viu que ela estava com problema, consequência de uma inversão de polaridade resultante de um procedimento realizado de forma errada. Desta forma, precisava ser substituído.

#JUNTOSRESOLVEMOS 54 Fevereiro 2024 • oficinabrasil.com.br
Divulgação Fotos: Divulgação

Gm ônix 2015 com falha no vidro elétrico

Diagnóstico: O primeiro paço era a inspeção visual do conector do vidro que apresentava falha, com o intuito de observar alguma irregularidade em sua fixação, assim ao remover os botões do vidro do forro da porta e analisar a qualidade da fixação do conector, identificou facilmente, para sua alegria, que o mesmo estava solto então bastou reconectá-lo para que o vidro elétrico problemático voltasse a funcionar corretamente.

Entretanto, o que parecia ser um diagnóstico rápido e assertivo, transformou-se em algo mais complexo, pois antes de entregar o veículo ao proprietário o técnico realizou uma revisão no funcionamento dos demais vidros elétricos e constatou que os vidros dianteiros pararam simplesmente de funcionar, o que o deixou surpreso já que antes do reparo do vidro traseiro os demais estavam funcionando perfeitamente.

Diante dessa nova situação, o reparador aproveitou os itens presentes em seu

plano de ação para o problema anterior agora já resolvido, para colocá-los em prática nesse novo cenário, desta forma, ao observar qual seria seu próximo passo, viu que teria que analisar o estado dos fusíveis que protegem o chicote dos vidros dianteiros, ao fazê-lo confirmou que todos estavam em perfeito estado. A fim de garantir que não estaria diante de um problema similar ao do vidro traseiro, removeu os botões das portas dianteiras para ver possíveis irregularidades em sua fixação

Diferente do caso solucionado os conectores estavam bem fixados, o que levou o técnico a pedir ajuda aos colegas do Fórum Oficina Brasil, o maior e mais completo fórum do setor de reparação automotiva do Brasil que desde 2002 vem sendo uma verdadeira mão na roda para os reparadores de todas as regiões do país. É um ambiente virtual dedicado à troca de informações e experiências acerca de casos de difícil solução, no qual, através de

Fiat Toro com pane geral

Sintoma: A pick-up foi encaminhada à oficina, pois repentinamente a direção ficou pesada e o painel passou a indicar ABS, Diagnóstico: Sem perda de tempo, o reparador realizou uma revisão geral no sistema elétrico, verificando todos os fusíveis e relés, e todos os aterramentos, porém não encontrou nenhum problema.

Ao utilizar o scanner, o reparador observou que o equipamento acessava o módulo do motor, porém, não entrava em comunicação com os demais módulos, como o do ABS, air bag e direção assistida.

Uma vez que o único módulo a se comunicar foi o do motor, o reparador entrou em sua memória de avarias e, para sua surpresa, não havia nenhum código de falhas que poderia lhe dar uma pista do que ocorreu no veículo antes desta pane generalizada.

O técnico então relatou em detalhes sua problemática bem

como os testes já realizados com o propósito de repassar o máximo de informações aos colegas reparadores para lhe ajudarem de forma mais assertiva possível.

Como de costume os integrantes do fórum não demoraram para apresentar suas dicas e sugestões.

Um dos reparadores pediu mais informações acerca do modelo, ano e versão do veículo.

Outro, por sua vez, levantou a possibilidade de este veículo estar equipado com Security Gateway, ou seja, um módulo que protege o sistema contra ataques cibernéticos e acesso indesejados e que poderia estar causando a pane no veículo.

O terceiro a dar sua contribuição destacou a necessidade de ser ter um bom esquema elétrico em mãos para analisar o sistema e perguntou sobre o estado de carga da bateria, pois a partir de sua experiência com esse veículo informou que se a bateria estiver

uma rede de compartilhamento todos se ajudam mutualmente e assim conseguem realizar excelentes diagnósticos.

Ao pedir ajuda aos colegas através do fórum, fez questão de informar todos os detalhes, tomando cuidado para não omitir nenhuma informação que poderia ajudá-los a compreender a situação e auxiliá-lo da melhor forma possível.

Como de costume após sua postagem, não demorou muito para surgirem as primeiras dicas e sugestões. O primeiro colega a colaborar destacou que estes carros mais novos têm que fazer a codificação via scanner caso contrário eles não funcionam mesmo o sistema elétrico estando em perfeito funcionamento.

Solução: Ao receber esta valiosa informação o técnico realizou algumas pesquisas e descobriu que havia uma for-

ma de fazer a configuração dos vidros sem scanner já que o seu não tinha essa função. Realizou o procedimento de configuração manual e para sua satisfação os vidros voltaram a funcionar perfeitamente.

Retornou para os colegas do fórum a resolução do caso e agradeceu a colaboração.

ruim, trava o câmbio automático e ocorre pane na comunicação de vários módulos de controle. Um quarto colega do fórum perguntou sobre o estado da bateria e se o técnico havia realizado o teste do CCA, ou seja, o teste de corrente de partida a frio a fim de garantir o bom estado da bateria.

E, por fim, a quinta contribuição chamou a atenção para a análise da rede CAN, assim como a verificação dos conectores dos

módulos.

Solução Enfim, o reparador encaminhou o proprietário para a oficina autorizada e lá realizaram a substituição do módulo de controle da direção elétrica danificada provavelmente pela queda de tensão da bateria, após sua substituição o problema foi resolvido.

Participe!

Estas matérias, extraídas de nosso fórum, são fruto da participação dos reparadores que fazem parte da grande família chamada Oficina Brasil.

Acesse você também o nosso Fórum e compartilhe suas experiências com essa comunidade.

Lembre-se, o seu conhecimento poderá ajudar milhares de reparadores em todo o Brasil e seu nome será publicado nesta seção.

Saiba mais em: www.oficinabrasil.com.br

55 Fevereiro 2024 • oficinabrasil.com.br DIRETO DO FORUM

Turn static files into dynamic content formats.

Create a flipbook
Issuu converts static files into: digital portfolios, online yearbooks, online catalogs, digital photo albums and more. Sign up and create your flipbook.